рефераты скачать
 
Главная | Карта сайта
рефераты скачать
РАЗДЕЛЫ

рефераты скачать
ПАРТНЕРЫ

рефераты скачать
АЛФАВИТ
... А Б В Г Д Е Ж З И К Л М Н О П Р С Т У Ф Х Ц Ч Ш Щ Э Ю Я

рефераты скачать
ПОИСК
Введите фамилию автора:


Контрольная работа: Підшипники кочення

Контрольная работа: Підшипники кочення

Вступ

Тема контрольної роботи «Підшипники кочення».

Підшипники кочення є основним видом опор.

До недоліків підшипників кочення варто віднести високу чутливість до ударних і вібраційних навантажень, низьку довговічність у високошвидкісних приводах (небезпека руйнування сепаратора від дії відцентрових сил), порівняно великі радіальні розміри, підвищену шумову характеристику при високих швидкостях.

Підшипники кочення класифікуються за наступними ознаками:

1. За напрямком сприймаємого навантаження відносно осі вала: радіальні, що сприймають радіальні навантаження, упорні, що сприймають осьові навантаження, і радіально-упорні, що сприймають водночас радіальні й осьові навантаження.

2. За формою тіл кочення: кулькові і роликові, причому останні можуть бути з цилиндричними, конічними, бочкоподібними, голчастими і крученими роликами.

3. За числом рядів тіл кочення: однорядні і багаторядні.

4. За здатністю самовстановлюватися: несамоустановлювальні і самоустановлювальні (сферичні).

5. За габаритними розмірами: на серії.

Мета роботи - розглянути сучасні методи розрахунку працездатності підшипників і конструювання підшипникових вузлів, вирішити типові приклади розрахунку і проектування опор на підшипниках кочення.


1.  Теоретична частина

1.1 Особливості конструювання підшипникових вузлів

1.1.1 Загальні відомості

Працездатність підшипників кочення залежить не тільки від правильного їх підбору, але і від раціональності конструкції підшипникового вузла.

Підшипники встановлюють у твердих корпусах, прагнучи уникнути перекосів кілець, що можуть виникнути внаслідок неправильної обробки посадкових місць при монтажі.

Обертові відносно навантаження кільця підшипників з’єднують зі сполученими деталями з натягом за допуском r6, m6, n6, тощо, щоб уникнути їхнього провертання за посадковою поверхнею.

Встановлення нерухомих кілець підшипника здійснюють з полем допуску H7, N7, K7, тощо для полегшення осьових переміщень кілець при регулюванні проміжків у підшипнику, а також при температурних деформаціях валів.

При конструюванні підшипникових вузлів прагнуть до того, щоб вал з опорами являв собою статично визначену систему.

За здатністю фіксувати осьове положення вала опори розділяють на плаваючі і фіксуючі (рис.1).

“Плаваючі” опори допускають осьове переміщення вала в будь-якому напрямку для компенсації подовження або укорочення вала при температурних коливаннях. Вони сприймають тільки радіальне навантаження.

Як “плаваючі” опори застосовують кулькові і роликові підшипники.

Фіксуючі опори обмежують переміщення вала в одному або обох напрямках. Вони сприймають радіальне і осьове навантаження.

Як фіксуючі опори використовують радіальні і радіально-упорні підшипники (рис.1).

При виборі “плаваючих” і фіксуючих опор за схемами 1 і 2 враховують рекомендації:

-  підшипники обох опор повинні бути навантажені, по можливості, рівномірно, тому якщо на вал діє осьова сила, то опору, що плаває, вибирають ту, яка навантажена більшою радіальною силою. При цьому всю осьову силу сприймає підшипник, менш навантажений радіальними силами;

-  при відсутності осьових сил за опору, що плаває, приймають менш навантажену опору, щоб зменшити тертя від осьового переміщення підшипника;

-  якщо вихідний кінець вала з’єднується з іншим валом муфтою, то фіксуючою приймають опору поблизу цього кінця вала.

У схемах 3 і 4 вал фіксується в двох опорах, причому в кожній опорі в одному напрямку. В опорах цих схем можуть бути прийняті кулькові чи роликові радіальні і радіально-упорні підшипники.

Схеми 3 і 4 застосовують з певним обмеженням за відстанню L між опорами. Пов’язане це зі зміною проміжків у підшипниках при температурних коливаннях.

У схемі 3, яку називають схемою “врозпор”, у перетинах вала між опорами від осьових сил діють напруження стиску, тому, щоб виключити защемлення тіл кочення внаслідок нагрівання при роботі, передбачають осьовий проміжок “а”, трохи більший за очікувану температурну деформацію вала. Величину “а” встановлюють дослідним шляхом (у вузлах з радіальними шарикопідшипниками при L≤300 мм і обмеженому нагріванні а≈0,2...0...0,5 мм). Необхідний проміжок “а” створюють за допомогою набору тонких металевих прокладок (рис.2).

Значення теплових деформацій залежить від довжини вала, тому застосування в схемі 3 радіально-упорних підшипників, чутливих до зміни осьових проміжків, рекомендується при L=(6...8)dn, де dn – діаметр цапфи. Менші значення відносяться до роликових, більші – до кулькових радіально-упорних підшипників.

Для радіальних підшипників L ≥ 10ּdn.

Схему 3 застосовують при відносно коротких валах.

Описание: 1.png

Рис.2. Приклад установки вала на роликових конічних підшипниках “врозпор”

У схемі 4 (рис.1), яку називають схемою “врозтяг”, ймовірність защемлення тіл кочення підшипників внаслідок теплових деформацій вала зменшується, тому що в цій схемі при подовженні вала осьовий проміжок у підшипниках збільшується (рис. 3).

Описание: 1.png

Рис.3. Складальний комплект вала з підшипниками


З цієї причини відстань між підшипниками приймають L=(6...10)dn. Менше значення відноситься до роликових, більше - до кулькових радіальних і радіально-упорних підшипників.

В окремих конструкціях застосовують так звані “плаваючі” вали, які мають обидві “плаваючі” опори. Осьова фіксація вала в цьому випадку здійснюється не в опорах, а яким-небудь іншим елементом конструкції, наприклад, зубцями шевронних коліс (рис.4) або торцевими шайбами (рис.5).

Рис.4. Фіксація вала зубцями                           Рис.5. Фіксація вала

зубцями шевронних коліс                                торцевими шайбами

Для створення самостійного складального комплекту вала з підшипниками в деяких конструкціях підшипникових вузлів застосовують чавунні стакани. У підшипниковому вузлі вала-шестірні конічної передачі стакан є обов’язковим. За його допомогою виконують регулювання зубчастого зачеплення (рис.6).

1.1.2 Встановлення підшипників

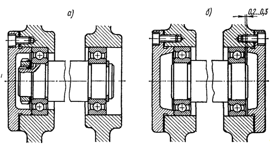
Працездатність, надійність і довговічність підшипників кочення залежить не тільки від матеріалу і якості виготовлення їх деталей, але й від того, як вони встановлені. Підшипники кочення мають точно фіксувати положення вала і не відчувати додаткових навантажень від температурних деформацій вала, перенатягу при монтажі тощо. Довгі вали можуть мати значні температурні деформації і тому кріплення їх в корпусі здійснюється однією нерухомою опорою, інші опори цих валів виконують „плаваючими”, тобто такими, які допускають осьове переміщення вала (рис.7, а). Для здійснення вільних осьових переміщень найбільш підходять радіальні роликові підшипники і радіальні шарикопідшипники з незакріпленими зовнішніми кільцями.

Описание: 1.png

Рис. 7. Встановлення довгих (а) і коротких (б) валів

Короткі вали при відсутності значного нагріву можна кріпити двома опорами таким чином, щоб одна з них утримувала вал в одному, а друга – в іншому осьовому напрямках (рис.7, б). Для усунення можливості защемлення тіл кочення в радіальних підшипниках передбачають осьовий проміжок (0,2÷0,3) мм між кришкою підшипника і зовнішнім кільцем, а в радіально-упорних – осьове регулювання шляхом змін загальної товщини набору прокладок між фланцем кришки підшипника і його корпусом. Якщо в опорах вала встановлені тільки радіальні підшипники, то підшипником, який фіксує вал від осьового зміщення і сприймає осьове зусилля, рекомендується приймати той, який має найменше радіальне навантаження. При наявності упорного або радіально-упорного дворядного або багаторядного підшипника всі радіальні підшипники цього вала мають бути „плаваючими”. Обидва кільця підшипників, що фіксують вал від осьового зміщення, а також кільця, які обертаються, для запобігання їхнього обертання за посадочними поверхнями при динамічних навантаженнях відповідно закріплюють на валах і в корпусі. Це закріплення виконують за допомогою посадок кілець на вали і в корпусах з натягом, а також за допомогою інших засобів закріплення.

Посадки внутрішніх кілець підшипників кочення на вал виконують за системою отвору, а посадки зовнішніх кілець в корпусах – за системою вала. Поля допусків валів і отворів корпусів для встановлення підшипників кочення надані в таблиці 1 і 2.

Таблиця 1. Рекомендовані посадки підшипників кочення на вал

Машини і підшипникові вузли Умови, які визначають вибір посадки Посадки кілець підшипників класів точності 0 і 6
Обертання вала Вид навантаження Режим роботи Діаметри підшипників d, мм
1 2 3 4 5 6
Ролики стрічкових транспортерів, ролики конвеєрів

Немає

Місцеве Легкий або нормальний g6
Колеса автомобілів (не приводні), тракторів, вагонеток, літаків Те ж Нормальний або важкий Всі діапазони розмірів h6
Центрифуги, відцентрові насоси, вентилятори

Є

Циркуляційне Легкий або нормальний

До 40

Понад 40 До 140

k6

k6; h6

Коробки передач автомобілів і тракторів, великі редуктори

Є

Циркуляційне або комбіноване Нормальний або важкий

До 40

Понад 40

До 140

Понад 100

До 200

k6; j86

m6

n6; p6

k6

Редуктори коробок швидкостей верстатів, ланцюгові передачі

Є

Циркуляційне Легкий або нормальний

До 40

Понад 40

До 140

k6; h6; j86

Примітка: Кільце упорних шарико- та роликопідшипників усіх типів встановлюють на валу за допуском j86. Кільця підшипників по валу у процесі регулювання саджають за допуском h6.

Таблиця 2. Рекомендовані посадки підшипників кочення у чавунний або сталевий корпус

Машини і підшипникові вузли Умови, які визначають вибір посадки Посадки кілець підшипників класів точності 0 і 6
Обертання вала Вид навантаження Режим роботи Діаметри підшипників D, мм
1 2 3 4 5 6
Ролики стрічкових транспортерів, ролики конвеєрів

Є

Циркуляційне Важкий M7
Колеса автомобілів (не приводні), тракторів, вагонеток, літаків Те ж Нормальний або важкий Всі діапазони розмірів Р7
Центрифуги, відцентрові насоси, вентилятори

Немає

Циркуляційне або комбіноване Нормальний або важкий К7
Коробки передач автомобілів і тракторів, великі редуктори

Немає

Місцеве Нормальний К7
Редуктори коробок швидкостей верстатів, ланцюгові передачі

Немає

Циркуляційне або комбіноване Нормальний або важкий К7

Примітка: Кільця підшипників, що пересуваються по корпусу у процесі їх регулювання, саджають за допуском Н7.

Страницы: 1, 2, 3


рефераты скачать
НОВОСТИ рефераты скачать
рефераты скачать
ВХОД рефераты скачать
Логин:
Пароль:
регистрация
забыли пароль?

рефераты скачать    
рефераты скачать
ТЕГИ рефераты скачать

Рефераты бесплатно, реферат бесплатно, рефераты на тему, сочинения, курсовые работы, реферат, доклады, рефераты, рефераты скачать, курсовые, дипломы, научные работы и многое другое.


Copyright © 2012 г.
При использовании материалов - ссылка на сайт обязательна.