рефераты скачать
 
Главная | Карта сайта
рефераты скачать
РАЗДЕЛЫ

рефераты скачать
ПАРТНЕРЫ

рефераты скачать
АЛФАВИТ
... А Б В Г Д Е Ж З И К Л М Н О П Р С Т У Ф Х Ц Ч Ш Щ Э Ю Я

рефераты скачать
ПОИСК
Введите фамилию автора:


Реферат: Система автоматизации на котлоагрегатах

Реферат: Система автоматизации на котлоагрегатах

Министерство образования и науки Республики Казахстан


Павлодарский государственный университет им. С. Торайгырова


Кафедра «Компьютерные системы»


КУРСОВАЯ РАБОТА

по дисциплине: «Автоматизированное проектирование»


на тему: «Система автоматизации на котлоагрегатах»


Выполнили:

студенты гр. АСУ-51

Абильшаихова К.Б. Окатенко Н.В.

Бещембаева М.М.

Макзымов Е.Ж.

Проверил: Ишимцев Р.Ю.

Павлодар, 2003


СОДЕРЖАНИЕ



ВВЕДЕНИЕ


1.

Технологический участок образования пара, как объект АСУ

1.1

Технология парообразования и оборудование


1.1.1

Описание технологического процесса производства пара


1.1.2

Технологическая инструкция по эксплуатации паровых котлов


1.1.3

Описание технологического оборудования для производства пара



1.2


Электрические станции, их место в технологическом процессе парообразования


2.



Описание системы управления котлоагрегатом


3.



Выбор принципиальных технических решений

3.1


Задача управления, ее декомпозиция.


3.1.1

Котельные установки как объект регулирования

3.2


Техническое задание на создание новой АСУ




3.2.1

Требования, предъявляемые к системе автоматизированного управления




3.2.2

Требования к контроллерам




3.2.3

Требования к информационным потокам

3.3


Выбор основных технических решений по управляющему и вычислительному комплексу, ПО системы, пульту оператора, полевой автоматики и сети.




3.3.1

Выбор средств полевой автоматики (ПА)




3.3.3

Требования к программному обеспечению (ПО)


3.3.4

Требования к сети

4.



Проект АСУ



4.1


Функциональная схема автоматизации



4.2

Структура программно-технического комплекса



4.3

Структурная схема контура управления



4.4

Схема информационных потоков






5.

Специальный вопрос: АРМ оператора узла.





Заключение





Список используемой литературы



Введение


Энергетика является ведущим звеном современного индустриально развитого народного хозяйства. Понятием «энергетика» охватывается, как известно, широкий круг установок для производства, транспорта и использования электрической и тепловой энергии и всех других энергоносителей, как-то: сжатый воздух, искусственный кислород и др. В их числе особо важное значение имеет электроэнергия в силу универсальности её применения в промышленности, на транспорте и в быту и большой транспортабельности – на многие сотни километров при минимальных потерях.

В СССР, как в принципе и сейчас в Казахстане, примерно 85% электроэнергии производится на тепловых электростанциях (ТЭС), важнейшим звеном которых являются котельные установки, вырабатывающие пар для турбогенераторов.

В дальнейшем, при учете строительства мощных гидроэлектростанций (ГЭС) и более широкого промышленного освоения атомных электростанций (АЭС), процент «топливной электроэнергии» несколько снизится, но все же он составит, по- видимому, не мене 80% общего её производства. В общем, топливном балансе страны районные тепловые электростанции занимают около 15%, а, включая находящиеся в системе промышленных предприятий – примерно 25%. Значительно большое количество топлива, порядка 35%, потребляется промышленностью для производственных целей, а оставшиеся 40% приходится на все виды транспорта и коммунальное хозяйство. Если учесть широкое распространение на водном и железнодорожном транспорте паросиловых установок и применение различных котлов в коммунальном хозяйстве, можно констатировать, что не менее 55-60% производимого в стране топлива сжигается в топках котлов того или иного назначения.

Нужно указать далее, что промышленная энергетика является наиболее сложным энергетическим комплексом.

В его состав входят, помимо обычных котельных установок и паросиловых установок, специальные воздуходувные и кислородные станции, промышленные печи различного назначения, газификационные аппараты, сушильные и теплообменные устройства, тепловые и газовые сети, а также многообразное электрооборудование промышленных предприятий.

При выработке пара исходными рабочими веществами являются: топливо, окислитель - в основном кислород атмосферного воздуха и питательная вода, из которой получается пар нужных параметров, а производственными отходами – охлажденные дымовые газы и шлакозоловые остатки топлива. Дымовые газы получаются при сжигании (окислении) топлива в специальном устройстве – топке.

Тепло образующихся здесь горячих дымовых газов используется далее поверхностями нагрева для подогрева питательной воды, её испарения при определенном давлении, перегрева полученного пара, а также для нагрева воздуха, поступающего в топку для окисления горючих элементов топлива.

Дымовые газы, пройдя указанные теплоиспользующие устройства, выбрасываются затем в атмосферу. Вместе с ними уносится часть золы топлива, а остальная её часть в виде сплавленного шлака выпадает в нижней части топки, откуда она и выводится - непрерывно или периодически.

Сочетание топки и теплоиспользующих поверхностей именуется котельным агрегатом; котельная установка является более широким понятием, включающим дополнительно устройства для приготовления и ввода в топку топлива, вентиляторы для подачи воздуха и отвода в атмосферу охлажденных дымовых газов, питательные насосы и другое, более мелкое вспомогательное оборудование.

Промышленное применение пара имеет на сегодня почти двухвековую историю, считая со времен Ползунова (1728-1766 гг.) и Уатта (1736-1819 гг.), историю непрерывного прогресса в области паровых двигателей и паровых котлов. Однако значительные достижения были достигнуты в этих областях в 1930-1940 гг. За этот сравнительно весьма ограниченный отрезок времени в котельной технике достигнуто в количественном и качественном отношениях значительно больше, нежели за все предыдущие 150 лет.

Большие сдвиги котельной техники в1930-1640 гг., отражая общее ускорение темпов промышленно- технического прогресса, обуславливаются в основном бурным развитием за эти годы электроэнергетиков связи с интенсивным ростом энерговооруженности народного хозяйства, большой концентрацией мощностей и применением транспорта электроэнергии на огромные расстояния. Нужно указать, что до Октябрьской революции котлостроения в СССР фактически не было, как и многих других отраслей тяжелой промышленности, а вся сравнительно небольшая потребность в паровых котлах покрывалась импортом их из Германии и Англии. Начиная с 1928-1930 гг. у нас создается собственная и мощная топочно-котельная промышленность, концентрируемая на ряде специализированных заводов, важнейшими из которых являются Таганрогский, Подольский, Барнаульский и Белгородский.


  1. Технологический участок образования пара, как объект АСУ


    1. Технология парообразования и оборудование


1.1.1 Описание технологического процесса производства пара

Технологическая схема производства пара на паротурбинной электрической станции с прямоточными котлами и сжиганием твердо­го топлива в пылевидном состоянии показана на рис.1. Твердое топливо в виде кусков поступает в приемно-разгрузочное помещение в железнодорожных вагонах. Вагоны заталки­ваются в вагоноопрокидыватели и вместе с ни­ми, поворачиваясь вокруг своей оси примерно на 180°, разгружаются в расположенные ниже бункера. С помощью автоматических питате­лей топливо поступает на ленточные конвейе­ры первого подъема, передающие его в дро­билки. Отсюда поток измельченного топлива— дробленки (размеры кусочков топлива не бо­лее 25 мм) конвейером второго подъема по­дается в бункера котельной. Далее дробленка поступает в углеразмолъные мельницы, где окончательно измельчается и подсушивается. Образовавшаяся топливно-воздушная смесь поступает в топочную камеру.

Рис.1 Технологическая схема производства пара

1-штабель угля; 2- ленточный транспортер; 3 и 4-бункер; 5- вагоноопрокидыватель с железнодорожным вагоном; 6- дробильный завод; 7- бункер дробилки; 8- угле размольная мельница; 9- первичный воздух; 10- пылевоздушная смесь; 11- горелки; 12- фронт котла; 13- паровой котел; 14- топочная камера; 15- вторичный воздух; 16- НРЧ; 17- СРЧ; 18- ВРЧ; 19- перегретый пар; 20- конвективный пароперегреватель; 21- забор воздуха из помещения; 22- забор наружного воздуха; 23- короб холодного воздуха; 24- промежуточный паронагреватель; 25- горизонтальный газоход; 26- конвективная шахта (вертикальный газоход); 27- экономайзер; 28- питательная вода; 29- воздухоподогреватель; 30- дутьевой вентилятор; 31- золоуловитель; 32- дымосос; 33- дымовая труба; 34- шлакозоловой канал.


Примечание: парогенератор иногда называют также котлоагрегатом, или паровым котлом.

В отечественной энергетике наиболее ши­рокое распространение получили паровые кот­лы с П-образным профилем - это две вертикальные призматиче­ские шахты, соединенные вверху горизонталь­ным газоходом. Первая шахта - большая по размерам - является топочной камерой (топ­кой). В зависимости от мощности агрегата и сжигаемого топлива ее объем колеблется в широких пределах - от 1000 до 30000 м3 и более. В топочной камере по всему периметру и вдоль всей высоты стен обычно располага­ются трубные плоские системы — топочные экраны. Они получают теплоту прямым излучением от факела и являются радиационными поверхностями нагрева. В современных агрега­тах топочные экраны часто выполняют из плавниковых труб, свариваемых между собой и образующих сплошную газо-плотную (газо­непроницаемую) оболочку. Газо-плотная эк­ранная система покрыта оболочкой из тепло­изоляционного материала, которая уменьшает потери теплоты от наружного охлаждения стен агрегата, обеспечивает нормальные санитарно-гигиенические условия в помещении и исключает возможность ожогов персонала.

Вторая вертикальная шахта и соединяю­щий ее с топочной камерой горизонтальный газоход служат для размещения поверхно­стей нагрева, получающих теплоту конвекцией, и потому называются конвективными газохо­дами, а сама вертикальная шахта—коллективной шахтой. Поверхности нагрева, разме­щаемые в конвективных газоходах, получили название конвективных.

После отдачи теплоты топочным экранам продукты сгорания покидают топку при тем­пературе 900—1200°C (в зависимости от вида топлива) и поступают в горизонтальный газо­ход.

По мере движения в трубах топочных экранов вода превращается в пар. Поверхно­сти нагрева, в которых образуется пар, явля­ются испарительными, парообразующими. В прямоточном котле испарительная поверх­ность нагрева располагается в нижней части топки и потому называется нижней радиаци­онной частью (НРЧ). При СКД в ней разме­щается радиационный экономайзер. Вода, по­ступающая в паровой котел, называется пи­тательной водой.

Питательная вода содержит примеси. В процессе парообразования увеличивается содержание пара, вода при этом упаривается, а концентрация примесей возрастает. При достижении определенных концентраций в конце зоны парообразования на внутренней поверхности труб образуются отложения в ви­де накипи. Теплопроводность отложений в де­сятки раз меньше теплопроводности металла, из которого выполнены поверхности нагрева. Это ухудшает теплопередачу к рабочей среде и при интенсивном обогреве в топочной каме­ре приводит к перегреву металла труб, сни­жению прочности и разрыву под действием внутреннего давления рабочей среды.

Поверхность нагрева, в которой завер­шается парообразование и осуществляется переход к перегреву пара, называют переход­ной зоной. В этой зоне преимущественно и об­разуются отложения. Для облегчения работы металла в ранних конструкциях прямо­точных котлов переходную зону выносили из топоч­ной камеры в конвективный газо­ход, где ин­тенсивность обогрева примерно на порядок меньше - вынесенная переход­ная зона. В на­стоящее время прямоточные котлы питаются практически чистой водой и накипь не образуется, поэтому в современных котлах вынесенной переходной зоны не делают и ра­бочая среда из НРЧ поступает непосредствен­но в вышерасположенные то­почные экраны, в которых пар уже перегревается - радиаци­онный пароперегреватель. Он может состоять либо из двух поверхностей нагрева: средней радиационной части (СРЧ) и верхней радиа­ционной части (ВРЧ), включенных между со­бой по пару после­довательно, либо только ВРЧ, включенной непосредственно за НРЧ. Из ВРЧ частично перегретый пар поступает в последнюю по ходу пара поверхность на­грева, располо­женную в конвективном газохо­де — конвективный пароперегреватель, в кото­ром он доводится до необходимой температу­ры. Из конвективного пароперегревателя пере­гретый пар заданных параметров (давления и температуры) направляется в турбину. Как и любая конвективная поверхность нагрева, конвективный пароперегреватель представляет собой систему большого числа параллельно включенных между собой трубчатых змееви­ков из стальных труб, объединенных на входе и выходе коллекто­рами.

Температура продуктов сгорания за конвективным пароперегревателем достаточно вы­сока (800—900°С). Частично отработавший в турбине пар снова направляют в паровой котел для вторичного (промежуточного) пере­грева до температуры, обычно равной темпе­ратуре пара, выдаваемого основным паропе­регревателем. Этот пароперегреватель получил название промежуточного.

На выходе из промежуточного паропере­гревателя продукты сгорания имеют еще вы­сокую температуру (500—600°С) и поэтому содержащуюся в них теплоту утилизируют в конвективном экономайзере. В него посту­пает питательная вода, которая подогревается до температуры, меньшей температуры насы­щения. При этой температуре вода поступает в НРЧ. За экономайзером температура про­дуктов сгорания составляет 300—450°C и бо­лее. Дальнейшая утилизация теплоты осу­ществляется в следующей конвективной по­верхности нагрева для подогрева воздуха – воздухоподогревателе. Воздухоподогреватель часто представляет собой систему вертикаль­ных труб, через которые проходят продукты сгорания, а между трубами—нагреваемый воздух. Температура воздуха на входе в воз­духоподогреватель (холодный воздух) 30— 60°C, на выходе (горячий воздух) 250—420°С в зависимости от топлива и способа его сжи­гания.

При сжигании твердого топлива в пыле видном состоянии горячий воздух делят на два потока. Первичный воздух служит для подсушки топлива при размоле и транспорта готовой топливной пыли через горелки в топочную камеру. Температура топливно-воздушной смеси 70—130°С. Вторичный воздух поступает через горелки в топку непосредст­венно (минуя мельничную систему) при температуре за воздухоподогревателем.

После воздухоподогревателя продукты сго­рания имеют уже достаточно низкую темпера­туру (110—160°С). Дальнейшая утилизация теплоты этих продуктов сгорания экономиче­ски нецелесообразна, и их выбрасывают дымо­сосом через дымовую трубу в атмосферу. Они получили название уходящих газов,

В результате сжигания топлива остается зола, которая в основной массе уносится про­дуктами сгорания. Ее улавливают в золоуло­вителе, размещаемом перед дымососом. Этим предотвращается абразивный износ дымососов и загрязнение атмосферы золой. Уловленная зола удаляется устройствами золоудаления. Часть золы выпадает в нижнюю часть топки и также непрерывно удаляется через систему золошлакоудаления.

Технологическая схема производства пара с барабанными котлами отличается лишь кон­струкцией и работой самих паровых котлов. В этом случае образующаяся в то­почных экранах пароводяная смесь поступает в барабан. Выделившийся в барабане прак­тически сухой пар поступает в пароперегрева­тель, а затем в турбину.

Из рассмотрения технологической схемы производства пара на рис.1 следует, что в состав котельной установки входят:

  • топливный тракт — комплекс элементов, в котором осуществляется подача, дробление и размол твердого топлива, его транспорти­ровка и подача в топочную камеру для сжи­гания. Топливный тракт включает дробильное оборудование, транспортеры, бункер дроблено­го топлива, углеразмольную мельницу и со­единяющие ее с топочной камерой пылепроводы. До бункеров дробленки топливо пере­мещается конвейерами; сопротивление по топ­ливному тракту, начиная с мельницы, преодо­левается напором, создаваемым вентилятором;

  • водопаровой тракт, представляющий собой систему последовательно включенных элемен­тов оборудования, в которых движется пита­тельная вода, пароводяная смесь и перегре­тый пар. Водопаровой тракт включает следую­щие элементы оборудования: экономайзер, топочные экраны и пароперегреватели;

  • воздушный тракт, представляющий собой комплекс оборудования для приемки атмосферного (холодного) воздуха, его подогрева, транспортировки и подачи в топочную камеру. Воздушный тракт включает короб холодного воздуха, воздухоподогреватель (воздушная сторона), короб горячего воздуха и горелочные устройства;

  • газовый тракт—комплекс элементов обо­рудования, по которому осуществляется дви­жение продуктов сгорания до выхода в атмо­сферу; он начинается в топочной камере, про­ходит через пароперегреватели, экономайзер, воздухоподогреватель (газовая сторона), зо­лоуловитель и заканчивается дымовой трубой.

Воздушный и газовый тракты соединяются между собой последовательно. Так образуется газовоздушный тракт. Переход от одного к другому осуществляется в объеме топочной камеры. Здесь воздух транспортируют дутьевыми вентиляторами и соответствующий воздушный тракт на участке вентилятор — топка находится под давлением выше атмо­сферного. Продукты сгорания транспортируют дымососами, расположенными после котла, в связи, с чем топка и все газоходы находятся под разрежением. Такую схему тяги и дутья называют уравновешенной, или сбалансиро­ванной.

Транспорт воздуха до топки и продуктов сгорания до выхода в атмосферу можно также обеспечить только дутьевыми вентиляторами - без дымососов. Топка и газоходы в этом случае будут находиться под некоторым избыточным давлением – наддувом.


1.1.2 Технологическая инструкция по эксплуатации паровых котлов


Параметры котлов. Типы и параметры энергетических парогенераторов (котлов) стандартизированы (ГОСТ 3619-76). В соответствии с ГОСТ котлы, изготовляемые ТКЗ, имеют давление, производительность и другие характеристики, равные одному из указанных в таблице 1 комплектов значений.


Таблица 1.1 Основные параметры энергетических котлов, изготовляемых ТКЗ (по ГОСТ 3619-76)


Показатели Барабанные котлы

Прямоточные котлы

Давление пара на выходе из котла, кгс/см2


100


115


220


-


215


540


-


140


155

420

480

500


-


230


560


-


140


155


670


200


243


545


545


140


-


1800


500


240


515


515


255


-


1000

2650

3950


300

800


1200


265


545


545

Давление пара в барабане, кгс/см2

Производительность котла, т/ч


Электрическая мощность энергоблока с одним котлом, МВт


Температура питательной воды, C0

Температура первичного пара, C0

Температура промежуточного пара, C0


Давление, температура и количество пара, возвращаемого из турбины в котел для промежуточного перегрева, зависят от тепловых особенностей турбины и не нормируются.

Из таблицы 1.1 видно, что в наиболее крупных котлах, оборудованных промежуточным паронагревателем, температура пара меньше, чем в агрегатах производительностью от 420 до 500 т/ч без промежуточного перегрева пара. Частично это объясняется тем, что в крупных котлах при большой ширине газоходов труднее избежать неравномерного обогрева дымовыми газами отдельных труб. Кроме того, при наличии в котле как первичного, так и промежуточного паронагревателей их выходные участки, в которых температура пара имеет наибольшее значение, приходится размещать в зоне более высоких температур дымовых газов, чем в котлах без промежуточного паронагревателя. Поэтому котлы с промежуточным перегревом пара работают при более значительном превышении температуры металла труб над температурой проходящего в них пара. При одинаковой и даже при более высокой температуре стенок труб температура пара должна иметь у этих котлов несколько меньшее значение.

Маркировка котлов. Различают полную маркировку по ГОСТ и сокращенную заводскую маркировку котлов. Наиболее широко заводы применяют сокращенную маркировку, состоящую из нескольких букв и цифр. Первой для всех котлов ТКЗ является буква Т («Таганрогский»). Следующие буквы указывают тип котла: буква П означает пылеугольный, М- мазутный, Г- газовый, т.е. рассчитанный на сжигание газообразного топлива. К этим буквам может добавляться буква П- прямоточный или Е- с естественной циркуляцией воды.


1.1.3 Описание технологического оборудования для производства пара


Котлы бывают паровые и водогрейные.

Паровой котел - устройство, имеющее топку, обогреваемое продуктами сжигаемого в ней топлива и предназначенное для получения пара с давлением выше атмосферного, используемого вне самого устройства.

Водогрейный котел - устройство, имеющее топку, обогреваемое продуктами сжигаемого в ней топлива и предназначенное для нагревания воды, находящейся под давлением выше атмосферного и используемой в качестве теплоносителя вне самого устройства.

Котел- утилизатор - паровой или водогрейный котел, в котором в качестве источника тепла используются горячие газы технологического процесса.

Котел- бойлер - паровой котел, в паровом пространстве которого размещено устройство для нагревания воды, используемой вне самого котла, а также паровой котел, в естественную циркуляцию которого включен отдельно стоящий бойлер.

Стационарный котел – котел, установленный на неподвижном фундаменте.

Передвижной котел – котел, имеющий ходовую часть или установленный на передвижном фундаменте.

Паронагреватель – устройство, предназначенное для повышения температуры пара выше температуры насыщения, соответствующей давлению в котле.

Экономайзер – обогреваемое продуктами сгорания топлива устройство, предназначенное для подогрева или частичного испарения воды, поступающей в паровой котел.

Паровой котел вместе с дополнительными устройствами, представляющими собой различные аппараты, предназначенные для преобразования химической энергии топлива в тепловую энергию пара, называется котлоагрегатом.

Несколько котлоагрегатов, объединенных в общем, помещении, образуют котельную установку.

Котельная установка может состоять и из одного котлоагрегата.

Котельные установки в промышленности предназначаются для выработки пара, применяемого в паровых двигателях (паровых машинах и паровых турбинах) и при различных технологических процессах (варка, выпаривание, сушка и т.п.), а также для отопления, вентиляции и бытовых нужд.

Поэтому в зависимости от назначения различают следующие разновидности котельных установок:

  • Энергетические - вырабатывающие пар для паровых двигателей;

  • Производственно- отопительные – вырабатывающие пар для потребностей производства, отопления и вентиляции;

  • Отопительные – вырабатывающие пар для отопления производственных и жилых помещений;

  • Смешанного назначения – вырабатывающие пар для снабжения одновременно паровых двигателей, технологических нужд и отопительно - вентиляционных установок.

Основными элементами современного котлоагрегата являются котел, топка, паронагреватель, экономайзер, воздухонагреватель, а также обмуровка и каркас.

Для управления работой котельного агрегата и обеспечения нормальной и безопасной его эксплуатации он снабжается контрольно - измерительными приборами, приспособлениями, автоматами и арматурой. Сюда относятся: манометры, предохранительные клапаны и устройства, водоуказательные приборы, вентили и задвижки, служащие для подключения или отключения котлоагрегатов от паровых, питательных и спускных (продувочных) трубопроводов.

Топка и газоходы котла снабжаются гарнитурой. В её состав входят: фронтовые дверцы, гляделки, лазы и шиберы в газоходах, люки для обдувки котлоагрегата от сажи и золы, взрывные предохранительные клапаны.

Вспомогательными устройствами котлоагрегата или котельной установки в целом являются: питательные трубопроводы и паропроводы, воздухопроводы, питательные насосы и баки, оборудование водоподготовки, вентиляторы и дымососы, золоуловители, дымовая труба, склады для топлива, устройства для подачи топлива, удаление золы и шлака.

Рабочими телами, участвующими в процессе получения горячей воды или пара для производственно – технических целей и отопления, служат вода, топливо и воздух.

Паровой котел является основным элементом котлоагрегата, он представляет собой теплообменное устройство, через металлические стенки которого происходит передача тепла от горячих продуктов горения топлива к воде для получения пара.

Паропроизводительность котельной установки или её мощность представляет собой сумму паропроизводительностей отдельных котлоагрегатов, входящих в её состав.

Паропроизводительность котлоагрегата определяется количеством килограммом или тонн пара, производимого им в час, обозначается буквой D и измеряется в кг/ч или т/ч.

Топочное устройство котлоагрегата служит для сжигания топлива и превращения его в химической энергии в тепло наиболее экономичным способом.

Пароперегреватель предназначен для перегрева пара, полученного в котле за счет передачи ему тепла дымовых газов.

Водяной экономайзер служит для подогрева поступающей в котел питательной воды теплом уходящих из котла дымовых газов.

Воздухоподогреватель предназначен для подогрева поступающего в топочное устройства воздуха теплом уходящих газов.

Топливный склад предназначен для хранения топлива; его оборудуют механизмами для разгрузки и подачи топлива в котельную или к топливоподготовительному устройству.

Топливоподготовительное устройство в котельных, работающих на пылевидном топливе, служит для измельчения топлива до пылевидного состояния; его оборудуют дробилками, сушилками, мельницами, питателями, вентиляторами, а также системой транспортеров и пылегазопроводов.

Устройство для удаления золы и шлаков состоит из механических приспособлений: вагонеток или транспортеров или тех и других, вместе взятых.

Устройство для подготовки питательной воды состоит из аппаратов и приспособлений, обеспечивающих очистку воды от механических примесей и растворенных в ней накипеобразующих солей, а также удаления из неё газов.

Питательная установка состоит из питательных насосов для подачи воды в котел под давлением, а также соответствующих трубопроводов.

Тяго–дутьевое устройство состоит из дутьевых вентиляторов, системы газо – воздуховодов, дымососа и дымовой трубы, обеспечивающих подачу необходимого количества воздуха в топочное устройство, движение продуктов сгорания по газоходам и удаления продуктов сгорания за пределы котлоагрегата.

Устройство теплового контроля и автоматического управления состоит из контрольно – измерительных приборов и автоматов, обеспечивающих бесперебойное и согласованную работу отдельных устройств котельной установки для выработки необходимого количества пара определенно температуры и давления.

В данной курсовой работе предлагается автоматизация системы с использованием паровых котлов, входящих в котлоагрегаты.

Такой выбор обуславливается тем, что в Павлодаре, в частности на ТЭЦ, используются котлоагрегаты, в основе которых - паровые котлы высокой паропроизводительности, которые снабжают город теплом, горячей водой и электроэнергией, а для промышленных предприятий (например, ОАО «Алюминий Казахстана»), находящихся в черте города, они вырабатывают еще и пар, необходимый для технологического процесса.

Рассмотрим устройство парового котла.

Котел представляет собой металлический сосуд, герметически закрытый, обогреваемый горячими газами и предназначенный для получения горячей воды или насыщенного водяного пара давлением выше атмосферного.

Котел представляет собой цилиндрический сосуд с выпуклыми днищами. Такая форма придана котлу как наилучшая по условиям прочности для сосудов, работающих под давлением. Этот котел состоит из наружного и двух внутренних цилиндров. К ним приварены упомянутые выше выпуклые днища (переднее и заднее).

Во внутренних цилиндрах, называемых жаровыми трубами, размещены топки, имеющие горизонтальные колосниковые решетки. Каждая топка имеет топочную дверцу для загрузки топлива.

Под колосниковой решеткой имеется пространство, которое называется зольником и предназначено для сбора золы, провалившейся при горении топлива, а также для подвода воздуха в топку.

Пространство между наружным и внутренним цилиндрами служит для заполнения его водой и паром, получающимся при работе котла.

Часть объема котла, всегда заполненная водой до определенного уровня, называется водяным пространством.

Та часть внутреннего объема котла, которая при работе постоянно заполнена паром, называется паровым пространством. Паровое пространство необходимо для сбора пара, образующего в котле, и в то же время для того, чтобы дать пару время выделить увлеченные им частицы воды.



Рис.2 Паровой двухжаротрубный котел

1- барабан котла; 2- предохранительные клапаны; 3- главный парозапорный вентиль; 4-влагоотделитель; 5- лаз для осмотра; 6- обратный клапан; 7- запорный вентиль на питательной линии; 8- термический водоумягчитель; 9- днище котла; 10- манометр на сифонной трубке; 11- водоуказательные стекла; 12- паропроводные краны; 13- спускные вентили; 14- топочные дверцы; 15- колосниковая решетка; 16- жаровая труба; 17- опорные стулья; 18- обмуровка котла.


Поверхность кипящей воды в котле, отделяющая водяной объем от парового, называется зеркалом испарения.

Питательный объем (питательное устройство) располагается между низшим и высшим уровнями воды в котле. Вода, заключенная в питательном объеме, может быть превращена в пар без питания котла водой, поэтому этот объем в процессе работы котла может быть заполнен то водой, то паром. Назначение его – дать возможность кочегару более легко регулировать работу котла.

Поверхность металлических стенок котла, омываемая с внутренней стороны водой, а с наружной – газами, называется поверхностью нагрева, измеряется в квадратных метрах и обозначается Hk.

Поверхность нагрева подсчитывается со стороны, обогреваемой газами.

Поверхность нагрева, воспринимающая лучистое тепло горящего слоя твердого топлива или факела жидкого или газообразного топлива в топке, называется радиационной поверхностью нагрева.

Поверхность нагрева остальных частей котла, воспринимающая тепло горячих дымовых газов вследствие соприкосновения с ними, называется конвективной.

В паровом котле горячими газами омывается только та часть его, которая с внутренней стороны охлаждается водой. Омывание горячими газами той части котла, которая с внутренней стороны соприкасается с паром, не допускается ввиду возможного перегрева металла стенок котла и образования на них отдулин, могущих привести к разрыву стенки и взрыву котла (исключением являются вертикальные стоячие котлы, у которых часть жаровой трубы соприкасается с наружной стороны с газами, а с внутренней – с паром). Линия, отделяющая обогреваемую газами поверхность от необогреваемой, называется огневой линией.

Во избежание обнажения стенок котла и для обеспечения надежности и безопасности его работы наинизший допустимый уровень воды в барабане, омываемом газами, должен располагаться на 100 мм выше обогреваемых газами стенок поверхности нагрева.

Для наблюдения за уровнем воды в котле устанавливаются водоуказательные приборы (водоуказатели). На приборах наинизший и наивысший допустимые уровни воды в котле отмечаются металлическими стрелками, прикрепленными к водоуказателю.

Наинизший уровень воды должен быть не менее чем на 25 мм выше нижней видимой кромки стекла водоуказателя, а наивысший уровень должен быть не менее чем на 25 мм ниже верхней видимой кромки стекла водоуказателя; сверх этого уровня нельзя накачивать воду в котел в целях предотвращения выброса воды в паропровод.

Расстояние между наивысшими и наинизшими уровнями выбирают (в зависимости от размеров котлов) от 50 до 100 мм.

Кроме того, на этих уровнях ставятся пароводопробные краны, при помощи которых можно также определить, находится ли уровень воды в допустимых пределах.

Давление пара в котле должно быть постоянно при его работе; оно называется рабочим давлением и контролируется манометром, устанавливаемом на сифонной изогнутой трубке, снабженной трехходовым краном.

На случай превышения давления пара свыше рабочего на котле устанавливают предохранительные клапаны, которые автоматически выпускают избыток пара в атмосферу.

Кроме указанных контрольных приборов, на котле устанавливаются: питательный клапан и вентиль, через который в котел подается питательная вода; паровой запорный вентиль, через который отбирается пар из котла; спускные приборы-вентили, устанавливаемые в самой нижней части котла для периодической продувки от осевшей грязи (шлама) и спуска воды.

Циркуляция воды в котле. Во время горения топлива часть тепла передается котлу непосредственно излучением от горящего слоя топлива. Горячие газы движутся по газоходам и отдают тепло металлическим стенкам котла, омываемым изнутри водой. Тепло, воспринятое наружной стенкой котла, вследствие хорошей теплопроводности металла передается воде, находящейся в котле. Вода подогревается от температуры, при которой она поступает в котельную установку, до заданной температуры или до температуры кипения при заданном давлении пара. Затем происходит испарение воды, т.е. превращение ее в насыщенный пар при постоянных рабочем давлении и температуре.

Слои воды, соприкасающиеся с поверхностями нагрева котла, нагреваются быстрее, чем слои воды, не соприкасающиеся с ними, и как более легкие поднимаются, а на их место притекает более холодная, вследствие чего и создается движение ее, которое называется циркуляцией.

Наиболее простая схема циркуляции воды в паровом котле приведена на рис1.

Рис.3 Схема циркуляции воды в цилиндрическом и паротрубном котах.

а – цилиндрический котел; б – водотрубный котел


  1. обогреваемая подъемная труба;

  2. верхний барабан;

  3. необогреваемая опускная труба;

  4. нижний барабан.


При естественной циркуляции контур образуется обогреваемой трубой 2, необогреваемой трубой 4 и двумя барабанами 1 и 3, к которым эти трубы присоединены.

Пока труба 2 не нагревается, температура воды в замкнутом контуре одинакова и циркуляция отсутствует. Как только начнется нагрев трубы 2, удельный вес воды в ней сделается меньше, чем удельный вес холодной воды в трубе 4, и вследствие этого образуется напор, под действием которого вода в трубе 2 станет подниматься, а холодная вода будет поступать по трубе 4. При этом начнется циркуляция, которая будет тем энергичнее, чем сильнее нагрев трубы 2. Циркуляция будет наиболее сильной, когда начнется парообразование и труба 2 будет частично заполнена пароводяной смесью, значительно более легкой, чем вода.

У простых цилиндрических котлов контур, по которому должна происходить циркуляция отсутствует, поэтому циркуляция у этих котлов очень слабая, а это связано с малой паропроизводительностью котлов и возможностью аварий.

У ряда конструкций котлов обогреваются опускные и подъемные трубы циркуляционного контура, причем вторые сильнее, первые слабее. У таких котлов часто происходит нарушение циркуляции по ряду причин: вследствие неравномерности обогрева параллельно работающих труб, недостаточной скорости воды в отдельных рядах труб, шлакообразования труб и других причин.

Поэтому в целях обеспечения надежности циркуляции у многих современных котлов опускные трубы делают необогреваемыми.

Во время одного оборота воды по циркуляционному контуру испаряется от 2,5 до 6% от всего количества воды, циркулирующей в контуре; поэтому для полного испарения вода должна сделать от 15 до 40 оборотов. Это число называется кратностью циркуляции.

Кроме естественной циркуляции, в ряде конструкций котлов применяется принудительная при помощи насосов, при этом кратность циркуляции значительно уменьшается в сравнении с естественной циркуляцией и равна 4-6 оборотам.

Непрерывное движение воды в паровом котле смывает с поверхности нагрева паровые и газовые пузырьки, что способствует улучшению теплопередачи, а также предохраняет стенки котла то разъедания (коррозии).

Одновременно с этим циркуляция воды способствует смыванию осадков, выделяющихся из воды и отводу этих осадков в нижнюю часть его, откуда они систематически удаляются посредством продувки.

Подогрев воды и парообразование происходит быстрее в более тонких слоях воды. Перемещение нагретых частиц воды в котле усиливается с появлением пузырьков пара, так как удельный вес пароводяной смеси меньше, чем удельный вес воды.

При достижении нормального рабочего давления пара в котле открывают запорный паровой вентиль, и пар поступает по паропроводу к месту своего потребления. С этого момента поддерживают постоянное давление; при этом и температура воды в котле будет также постоянной.

В случае прекращения подачи топлива в топку при неизменном расходе пара давление и температура воды будет снижаться; при неизменном горении топлива и подаче его в топку и прекращении расхода пара давление пара и температуры будет повышаться.

Количество воды в котле по мере превращения ее в пар уменьшается, и для поддержания нормального уровня нужно подавать свежую воду в котел насосом. Эта вода называется питательной водой.

Вода, находящаяся в котле, называется котловой водой.

Количество пара в килограммах, снимаемое с каждого квадратного метра поверхности нагрева котла, называется напряжением поверхности нагрева.

Количество пара, получаемого из котла в течение часа в килограммах или тоннах, называется его паропроизводительностью.

Паропроизводительность котла зависит от его конструкции, поверхности нагрева, количества и качества сжигаемого топлива, чистоты поверхностей нагрева, правильного обслуживания и других условий и является основным показателем его работы.

В соответствии с законами фазового перехода получение перегретого пара характеризуется последовательным протеканием следующих процессов: подогрева питательной воды до температуры насыщения, парообразования и, наконец, перегрева насыщенного пара до заданной температуры. Эти процессы имеют четкие границы протекания и осуществляются в трех группах поверхностей нагрева. Подогрев воды до температуры насыщения происходит в экономайзере, образование пара – в парообразующей (испарительной) поверхности нагрева, перегрев пара – в пароперегревателе.

В целях непрерывного отвода теплоты и обеспечения нормального температурного режима металла поверхностей нагрева рабочее тепло в них – вода в экономайзере, пароводяная смесь в парообразующих трубах и перегретый пар в пароперегревателе - движется непрерывно. При этом вода в экономайзере и пар в пароперегревателе движутся однократно относительно поверхности нагрева. При движении воды в экономайзере возникают гидравлические сопротивления, преодолеваемые напором, создаваемым питательным насосом. Давление, развиваемое питательным насосом, должно превышать давление в начале зоны парообразования на гидравлическое сопротивление экономайзера. Аналогично движение пара в пароперегревателе обусловлено перепадом давления, возникающим между зоной парообразования и турбиной.

В парообразующих трубах совместное движение воды и пара и преодоление гидравлического сопротивления этих труб в котлах различных типов организовано по – разному. Различают паровые котлы с естественной циркуляцией, с принудительной циркуляцией и прямоточные.

Агрегаты, в парообразующих трубах которых движение рабочего тела создается под воздействием напора циркуляции, естественно возникающего при обогреве этих труб, называется паровыми котлами с естественной циркуляцией.

В парообразующих трубах можно организовать движение рабочего тела принудительно, например насосом, включенным в контур циркуляции, такие агрегаты называются котлами с многократной принудительной циркуляцией.


    1. Электрические станции, их место в технологическом процессе парообразования


Электрическая станция представляет собой промышленное предприятие для выработки электрической энергии. Основное количество энергии в СССР и в крупных и экономически развитых странах производились на тепловых электростанциях (ТЭС), использующих химическую энергию сжигаемого органического топлива. Электрическую энергию вырабатывают также на тепловых электрических станциях, работающих на ядерном горючем, - атомных электрических станциях (АЭС) и на электростанциях, использующих энергию потоков воды, - гидроэлектростанциях.

Независимо от типа электростанции электрическую энергию, как правило, вырабатывают централизованно. Это значит, что отдельные электрические станции работают параллельно на общую электрическую сеть и, следовательно, объединяются в электрические системы, охватывающие значительную территорию с большим числом потребителей, уменьшает требуемую резервную мощность, снижает себестоимость вырабатываемой электроэнергии за счет рациональной загрузки электростанций, входящих в электрическую систему, и позволяет устанавливать агрегаты большой единичной мощности. Широко пользуются и централизованным снабжением теплотой в виде горячей воды и пара низкого давления, вырабатываемых на некоторых электростанциях одновременно с электрической энергией. Электрические станции, электрические и тепловые сети, а также потребители электрической энергии и теплоты в совокупности составляют энергетическую систему. Отдельные энергетические системы соединяют межсистемными связями повышенного напряжения в объединенные энергетические системы.

Тепловые электростанции. Основными тепловыми электрическими станциями на органическом топливе являются паротурбинные электростанции, которые делятся на конденсационные (КЭС), вырабатывающие только энергетическую энергию, и теплофикационные (ТЭЦ), предназначенные для выработки электрической и тепловой энергии.

Паротурбинные электростанции выгодно отличаются возможностью сосредоточения огромной мощности в одном агрегате, относительно высокой экономичностью, капитальными наименьшими затратами на их сооружение и короткими сроками строительства. Основными тепловыми агрегатами паротурбинной ТЭС являются паровой котел и паровая турбина.

Паровой котел представляет собой системы поверхностей нагрева для производства пара из непрерывно поступающей в него воды путем использования теплоты, выделяющейся при сжигании топлива, которое подается в топку вместе с необходимым для горения воздухом. Поступающую в паровой котел воду называют питательной водой. Питательная вода подогревается до температуры насыщения, испаряется, а выделившийся из кипящей (котловой) воды насыщенный пар перегревается.

При сжигании топлива образуются продукты сгорания - теплоноситель, который в поверхностях нагрева отдает теплоту воде и пару, называемый рабочим телом. После поверхностей нагрева продукты сгорания при относительно низкой температуре удаляются из котла через дымовую трубу в атмосферу. На электростанциях большой мощности дымовые трубы выполняют высотой 200-300м и больше, чтобы уменьшить местные концентрации загрязняющих веществ в воздухе. В результате горения топлива остаются зола и шлак, которые также удаляются из агрегата.


  1. Описание системы управления котлоагрегатом


В данной курсовой работе опишем систему управления ТЭЦ, в основе которой лежит работа котлоагрегата, причем будем делать ссылки, касающиеся непосредственно работы ТЭЦ-1 города Павлодара.

Схема котлоагрегата, работающего на пылевидном угле, приведена на рис.4 (приложение 1).

Топливо с угольного склада после дробления подается конвейером в бункер сырого угля 1, из которого направляется в систему пылеприготовления, имеющую углеразмольную мельницу 2. Воздухом, нагнетаемым специальным вентилятором 3, пылевидное топливо транспортируется по трубам к горелкам 4 (где сжигается в виде факела 14, состоящего из светящихся продуктов сгорания (дымовых газов)) топки котла 5, находящегося в котельной 6. Стены топочной камеры (топки) делаются из огнеупорного кирпича, а на внутренней стороне их (со стороны факела) закреплены так называемые экранные трубы (экраны). В нижнюю часть этих труб через коллекторы 15 поступает нагретая до температуры кипения вода, а из верхней части (после нагрева воды теплотой, излучаемой факелом) выходит смесь пара с водой, которая по трубам 16 отводится в барабан 17. В этом барабане, находящемся снаружи котлоагрегата и вне зоны обогрева, пар отделяется от воды, которая по опускным трубам 18 вновь подводится к нижним коллекторам 15. В барабане котлоагрегата отделившийся от воды пар имеет температуру кипящей под давлением воды (обычно 300-350 ) и называется насыщенным паром. Однако для увеличения к.п.д. ТЭЦ целесообразно поднять его температуру до 550-570 . Для этой цели насыщенный пар из барабана по трубам 19 направляют в пароперегреватель 20, состоящий из трех частей: радиационной, ширмовой и конвективной. Газы на пути к верхней части топки несколько охладились (и потому перестали светиться), но еще обладают достаточно высокой температурой (около 900-1000). Пройдя пароперегреватель, пар приобретает необходимую для работы турбины температуру 540-565(так называемый перегретый пар), а дымовые газы охлаждаются до 400-500. Перегретый пар из трубок пароперегревателя 20 собирается в коллекторе 21, из которого затем по паропроводу направляется к турбине. Теплоту уходящих из пароперегревателя дымовых газов целесообразно использовать для предварительного нагрева испаряемого затем в экранах воды, а также и воздуха, необходимого для сжигания топлива. Для такого подогрева нужное для получения пара количество воды (ее называют питательной водой) пропускают через специальную змеевиковую трубную систему 22, называемую экономайзером. Вода для питания котла нагнетается питательным насосом 8 из бака питательной воды 7, имеющего деаэрационное устройство.

Питательная вода, проходя по змеевикам снизу вверх подогревается почти до температуры кипения, после чего из верхней части экономайзера по соединительным трубам (23-24 трубы) поступает в барабан 17. Нужный для сжигания топлива воздух засасывается дутьевым вентилятором 9 и подается им через воздухоподогреватель 25, в котором нагревается дымовыми газами до температуры 250-350 по специальным коробам к горелкам 4. Подача в топку горячего воздуха облегчает воспламенение топлива, обеспечивает его полное сжигание и повышает температуру горения. В воздухоподогревателе 25 целесообразно пропускать воздух снаружи труб, а газы по трубам.

За счет экономайзера и воздухоподогревателя температура дымовых газов может быть снижена до температуры 110-130 , при которой их направляют в специальную вращающуюся машину – дымосос 11, отсасывающий уходящие газы из котлоагрегата газы и выбрасывающий их в дымовую трубу 12. При сжигании твердого топлива лопатки дымососов необходимо защищать от истирания золой специально установленными золоуловителями 10. Степень очистки уходящих газов такими золоуловителями должна быть очень высокой (со степенью улавливания 99,5% все твердых частиц), что требуется для устранения загрязнения окружающей среды (атмосферы) эоловыми выбросами из дымовой трубы, которую для этой же цели сооружают высотой 200-300 м.

Уловленная из дымовых газов пылевидная зола и выпавший в нижнюю часть топки шлак удаляются, как правило, в потоке воды по каналам, а затем образующаяся пульпа откачивается специальными багерными насосами 13 и удаляется по трубопроводам. Однако в связи с тем, что зола может использоваться для нужд строительства, например как инертная добавка в бетон (а для этой цели она должна выводиться из котельной в сухом виде), в последнее время интенсивно внедряется транспорт золы в сухом виде – обычно с помощью воздушного потока.

Поступающий из котлоагрегата пар приводит во вращение ротор паровой турбины, на одном валу с которым устанавливается электрический генератор. После ввода в турбину пар расширяется в каналах специального профиля (соплах), где за счет разницы в давлении пара до и после сопла скорость пара меняется от 34-40 до 400-500 м/с с увеличением при этом его кинетической энергии. Чем больше разница в давлении пара, входящего и выходящего из нее, тем большая работа может быть получена с каждой единицы массы пара (килограмма или тонны). В современных турбинах отработанный пар уходит в конденсатор при давлениях в 25-30 раз меньших, чем давление воздуха на поверхности земли.

Удаление пара, достигающего в конце работы его в турбине столь низких давлений, значительно облегчается, если превратить его в воду. Причина этого заключается в том, что масса воды при данном давлении занимает значительно меньший объем, чем эта же масса в виде пара. Превращение пара в воду происходит при соответствующем его охлаждении и называется конденсацией пара.

В турбинной установке электростанции для конденсации пара после турбины устанавливается специальный аппарат, называемый конденсатором, а турбину, в которой пар расширяется до столь низкого давления, конденсационной турбиной.

В основе работы ТЭС лежит известный закон сохранения энергии, который гласит: энергия не исчезает и не создается вновь, а может лишь превращаться из одного вида в другой.

Назначение ТЭС состоит в том, чтобы тепловую энергию поступающего топлива преобразовывать в электрическую. Однако преобразовывать всю энергию топлива в электрическую на конденсационной электростанции нельзя, так как значительную часть тепла, полученного от топлива, приходится бесполезно отводить через конденсатор. Решение этой проблемы – теплофикация.

На ТЭЦ устанавливаются специального типа, позволяющие отбирать часть расширяющегося в них пара для подачи его потребителям. Оставшаяся часть пара используется для нагрева горячей воды обычно от 75 до 115. При таком использовании тепло отработанного в турбине пара не уходит с проточной водой в реку, а используется для целей теплоснабжения.

Примером такой теплоэлектроцентрали является Павлодарская ТЭЦ-1, которая снабжает потребителей не только электроэнергией, но также и теплом в виде пара и горячей воды. Пар направляется на фабрики и заводы, где используется для целей производства. Горячая вода используется для отопления зданий и нужд горячего водоснабжения (бани, ванны, души, бассейны).


  1. Выбор принципиальных технических решений


  1. Постановка и декомпозиция общей задачи


Система управления современными тепловыми электростанциями автоматизирована и имеет два уровня:

  1. Автоматизированная система управления отдельными технологическими процессами (АСУТП);

  2. Управление тепловой электростанцией (АСУ ТЭС). К числу устройств автоматики тепловых электростанций относятся технологические защиты, блокировка и сигнализация, регуляторы и системы автоматики.

Технологические защиты энергетических и блоков обеспечивают их отключение при аварийных режимах; падении вакуума турбин; резком отклонении параметров пара от проектных; сбросах нагрузок; отключении тягодутьевых механизмов; прекращении питания котлоагрегатов; прекращении подачи топлива.

Автоматическое регулирование тепловых процессов осуществляется с помощью систем автоматического регулирования.

Главная особенность производства пара состоит в относительно невысокой скорости протекания технологического процесса и его непрерывности. Организация такого способа производства будет более эффективной в случае автоматизации, поскольку процесс будет идти равномерно, сократится численность обслуживающего персонала, удлинится срок службы оборудования, сократится расход сырья, топлива и электроэнергии, увеличится производительность аппаратуры. Также следствием автоматизации производства можно считать облегчение условий труда и снижение себестоимости производства пара.

Автоматизация производства пара заключается в автоматическом контроле и регулировании подачи питательной воды, процесса горения, температуры перегретого пара, водного режима, паропроизводительности котлоагрегатов, разрежение в топке котла путем установки контрольно-измерительных приборов и регулирующих устройств.


  1. Котельные установки как объект регулирования


Котельная установка является сложным комплексом машин и механизмов, работающих в едином технологическом потоке (рис.5, Приложение 2).

В объем котельной установки, кроме основного производства, могут входить несколько цехов: подготовки воды, подготовки и транспортировки топлива, теплоснабжения потребителей сетевой водой для отопления и водой для горячего водоснабжения и др.

В каждом из этих цехов находятся агрегаты и двигатели, многие из которых автоматизированы, блокированы между собой или входят в систему АСУ (автоматическую систему управления).

Но все эти вспомогательные цехи и установки либо направлены на создание бесперебойной работы котлоагрегата и турбин ТЭЦ, либо являются устройствами, призванными распределять энергию, вырабатываемую теплосиловой установкой.

Основным энергоемким агрегатом, от которого зависит экономичная работа тепловой станции, остается котельный агрегат. Поэтому особое значение придается системе регулирования теплового процесса котельного агрегата.



Рис. 5 Схема котельного агрегата с основными точками регулирования:


1 – топка котла, 2 – барабан котла, 3 – пароперегреватель, 4 – экономайзер, 5 – турбина, 6 – дымосос, 7 – вентилятор, ОК – отсечный клапан, РОТ – регулирующий орган топлива, РК – регулирующий клапан питательной воды, ИМ – исполнительный механизм, РУ – регулятор уровня, РД – регулятор давления, БРОУ – быстровключающаяся редукционно – охладительная установка, Д – диафрагма, РТ – регулятор тяги, РИВ – регулятор избытка воздуха, КР – корректирующий регулятор, РН – регулятор нагрузки, t – термопара.


Топливо, сжигаемое в топке 1, выделяет определенное количество тепла, которое воспринимается активными поверхностями нагрева котла. Обычно это экранные водонагревательные трубки, которые, спускаясь из барабана котла, опоясывают топочное пространство и создают замкнутый контур циркуляции воды.

Тепло, передаваемое экранным трубам горячими газами, заставляет воду в трубах вскипать, и в а последних образуется пароводяная смесь. Плотность такой смеси меньше плотности воды, поэтому нагретая пароводяная эмульсия подымается вверх по трубам и попадает в барабан котла, где пар отделяется от воды и занимает верхний объем барабана. По опускным необогреваемым трубам, которые внизу котла соединены с обогреваемыми трубами, на место ушедшей в барабан котла эмульсии поступает вода и снова образуется эмульсия, подымающаяся вверх. Таким образом, в котле создается постоянная циркуляция воды.

Образовавшийся пар собирается в барабане котла 2 и через паронагреватель 3 поступает в паровую турбину 5. продукты сгорания топлива (в виде топочных газов) отсасываются дымососом 6.

На своем пути топочные газы омывают трубки пароперегревателя 3 и водяного экономайзера 4.

Вторичное использование тепла дымовых газов повышает коэффициент полезного действия, так как тепло используется для повышения энергетических показателей пара, а подогретая питательная вода, поступая в барабан, не охлаждает находящуюся там воду. Подогретая вода после водяного экономайзера поступает через питательный клапан РК в барабан, восполняя потери воды с отбираемым паром.

Топливо в топку (в данном случае горючий газ) поступает через отсечный клапан ОК и регулирующий орган РОТ. Нормальный режим горения топлива обеспечивается подачей в топку воздуха от вентилятора 7.

Для того чтобы поддерживать экономичный и устойчивый режим котельного агрегата, надо, прежде всего, выбрать параметр, который лег бы в основу регулирования подачи топлива в топку. В индивидуальных котельных агрегатах, работающих каждый на свою турбину, таким параметром является давление пара в барабане котла. Действительно, ели в топке сгорает столько топлива, сколько требуется для образования пара, покрывающего его расход, то давление в барабане котла будет неизменным. Иначе говоря, подвод тепла к котельному агрегату от сгорающего топлива, с учетом коэффициента полезного действия, должен соответствовать уходу тепла с отбираемым паром.

Если количество пара, поступающего в топку, превышает расход тепла с уходящим паром, то парообразование в котле будет протекать более интенсивно и давление в барабане увеличится. Если количество пара тепла, отбираемое с паром, превышает тепло, подаваемое с топливом, давление в барабане котла будет падать.

Количество тепла, подаваемого в топку, может изменяться по причине изменения состава и калорийности топлива. Но, если считать, что состав подаваемого топлива не меняется, что соответствует действительности для газового и жидкого топлива, то изменение подачи топлива в топку может быть вызвано только одной причиной – изменением количества отбираемого пара. Поэтому процесс регулирования подачи топлива называется регулированием нагрузки котла, а регулятор, ведущий этот процесс, называется регулятором нагрузки.

Регулятор РН получает импульс давления в барабане котла и передает команду на исполнительный механизм ИМ, который перемещает регулирующий орган топлива РОТ. Регулятор не просто передает команду на регулирующий орган, он её обрабатывает в соответствии с законами регулирования. Дело в том, что процесс образования пара в котле не сразу изменяется количество выработанного пара. Причиной этого является то, что сам процесс образования пара происходит во времени, кроме того, часть тепла тратится на нагревание топочных масс котла.

Представим себе в развернутом виде переходной процесс после изменения отбора пара или, иначе говоря, возмущения системы регулирования. Пусть в результате увеличения отбора пара давление в барабане упало. Для того, чтобы отдать команду на восстановление давления, регулятор должен учесть, на какую величину упало давление, а зачастую, и с какой скоростью оно падает. Когда подача топлива в топку увеличится, часть увеличенной подачи тепла уйдет на нагрев топочной кладки, деталей топочного устройства, металла экранных трубок и т.д. Следовательно, для того, чтобы ускорить восстановление давления в барабане котла, регулятор должен подать команду, учитывающую этот повышенный расход тепла.

Вместе с тем, когда процесс установится в новом режиме, все части котла прогреваются, и эта добавочная порция тепла, если её не снять, приведет к повышенной выработке пара, а, следовательно, к увеличению давления выше нормы.

Все это должно быть учтено регулятором: после начала перестановки регулирующего органа подача топлива увеличится; давление начнет восстанавливаться; по мере приближения давления к норме регулятор должен замедлять движение регулирующего органа и прекратить его перестановку, когда давление достигнет нормы.

Однако в силу вышесказанных причин, а также ошибок регулятора, инерционности исполнительного механизма и регулирующего органа, процесс редко на этом заканчивается. Чаще всего регулирующий орган к моменту восстановления давления занимает положение, соответствующее повышенной, против требуемого, подачи топлива. Поэтому давление в котле будет расти и процесс регулирования будет повторяться с обратным знаком.

Пройдут несколько колебаний всей системы, прежде чем процесс установится. Такие колебания являются очень нежелательными для котельного агрегата, так как, кроме того, что такой режим является очень неэкономичным, он приводит к тепловым перегрузкам и деформациям всех частей котла. Правильный выбор регулятора и его точная настройка заметно уменьшают переходный процесс и улучшают режим работы котла.

Для обеспечения процесса горения топлива в топку должно быть подано определенное количество воздуха, кислород которого необходим для полного сгорания топлива. Избыток подаваемого воздуха вызовет повышенный унос тепла с топочными газами и приведет к переохлаждению топочного пространства, а недостаточная подача воздуха – к неполному сгоранию топлива. Поэтому соответствующая расходу топлива подача воздуха является второй задачей, которую должен обеспечивать режим автоматического регулирования.

В топку подается небольшой избыток воздуха по сравнению с тем, который нужен для полного сжигания топлива. Этот избыток определяется коэффициентом избытка воздуха, который устанавливается при тепловых испытаниях котлоагрегата. Задача автоматического регулирования заключается в обеспечении подачи воздуха в строгом соответствии с этим коэффициентом. Если характеристика системы «топливо - регулирующий орган» линейна, т.е. перемещение регулирующего органа прямо пропорционально количеству топлива, подаваемого в топку, то сигнал о количестве подаваемого топлива можно снять с датчика дистанционной передачи исполнительного механизма регулирующего органа топлива. Этот сигнал воспринимается регулятором избытка воздуха РИВ, который отдает команду исполнительному механизму ИМ, служащему приводом направляющего аппарата вентилятора 7.

Топочные газы должны быть полностью удалены. Полного удаления продуктов сгорания можно достичь обеспечением определенной производительности дымососа 6. Для того чтобы топочные газы не выбивались из топки наружу, необходимо поддерживать определенное разряжение в топке котла. Вместе с тем, увеличение этого разряжения приводит к повышенному подсосу воздуха через не плотности в стенках котлоагрегата. В котле попадает не подогретый воздух. Повышаются потери с отходящими газами, так как возрастает скорость дымовых газов, нерационально увеличивается расход электроэнергии на привод дымососа. Все это ведет к уменьшению коэффициента полезного действия котла.

Импульс разряжения снимается в верхней части топочной камеры в связи с тем, что в нижних частях топки могут быть различного рода подсосы. Поэтому, поддерживая разряжение в верхней части топки, можно быть уверенным, что в других частях топки разряжение может быть только больше, но не меньше. Импульс разряжения передается на регулятор РТ, который через исполнительный механизм поворачивает направляющий аппарат дымососа.

Регулирование уровня в барабане котла осуществляется регулятором РУ. Команда уровня передается на регулирующий клапан РК. При снижении уровня клапан открывается. При увеличении уровня – прикрывается.

Такой представляется упрощенная картина регулирования уровня. На самом деле на уровень в барабане котла влияет целый ряд факторов. К этим факторам относится тепловая нагрузка топки, давление пара в барабане котла, расход пара из барабана котла и подача питательной воды в барабан.

В установившемся состоянии теплового режима количество тепла, воспринимаемое экранными трубками, во времени постоянно и количество образовавшегося пара в котле соответствует количеству пара, отбираемому потребителем. При этом количество пузырьков пара в экранных трубках постоянна плотность и объем пароводяной эмульсии.

Любое нарушение установившегося состояния теплового режима приводит к изменению соотношения между средним содержанием пара и воды в экранных трубах.

При увеличении тепловой нагрузки топки количества тепла, передаваемое поверхностями нагрева, увеличивается, следовательно, увеличивается интенсивность парообразования. Увеличение количества пузырьков пара в пароводяной эмульсии приводит к увеличению объема, что сказывается на уровне в барабане котла – уровень увеличивается. Увеличение давления в барабане котлоагрегата приведет к уменьшению содержания пара в пароводяной эмульсии, так как при повышенном давлении часть пузырьков пара сконденсируется и превратится в воду. Поэтому при повышении давления уровень будет понижаться.

Рассмотрим процесс изменения уровня при возмущении теплового процесса в случае нагрузки на котел.

Увеличение потребления пара потребителям при неизменной подаче топлива приведет к уменьшению давления в барабане котла, что вызовет увеличение объема пароводяной эмульсии, так называемое «набухание». В результате эффекта «набухания» уровень в барабане котла довольно значительно возрастет. Величина изменения уровня зависит от тепло напряженности поверхностей нагрева и количества воды, содержащейся в котле.

В котлах с большим водяным объемом, не имеющих экранных поверхностей, изменение уровня при изменении нагрузки почти не ощущается. В котлах с одним барабаном и сильно развитым топочным экраном « набухание» уровня может достигнуть величины порядка сотен миллиметров.

Увеличение уровня в барабане котла воспринимается регулятором как сигнал к снижению подачи питательной воды. Уменьшение количества питательной воды, подаваемой в барабан котла, приведет к увеличению температуры воды, а, следовательно, к еще большему «набуханию». Однако с увеличением нагрузки котла количество воды, уходящей в виде пара, увеличивается, что в конце концов приведет к устойчивому снижению уровня в барабане.

Таким образом, увеличение нагрузки сначала приведет к резкому увеличению в результате «набухания», а затем к снижению его в результате повышенного расхода воды.

Для того чтобы регулятор реагировал на причины, вызывающие изменения уровня, он должен воспринимать сигналы не только уровня в барабане котла, но и расхода пара, а часто и расхода питательной воды, подаваемой в котел. Причем сигнал расхода пара подают в регулятор со знаком, обратным сигналу уровня.

В результате явления «набухания» уровень в барабане котла изменяется настолько быстро, что регулятор не может повлиять на величину этого отклонения. Даже полное закрытие клапана питательной воды в момент увеличения нагрузки почти не уменьшает отклонение уровня в процессе «набухания». Но если позволить регулятору полностью закрыть питательный клапан, то возникает опасность упуска уровня в последующий период, когда уровень начнет устойчиво снижаться за счет несоответствия подачи воды в барабан и расхода пара.

Поэтому, при введение в регулятор сигнала по расходу пара процесс регулирования будет выглядеть следующим образом: в первый период после увеличения нагрузки регулятор, приняв сигнал увеличенного расхода пара, выдаст команду на питательный клапан и он начнет открываться; в следующий период начнется «набухание», этот сигнал заставит регулятор прекратить команду на открытие питательного клапана. Если после этого уровень в барабане не установится, а будет изменяться, то этот сигнал изменения уровня, не скомпенсированный сигналом расхода, снова приведет к перемещению питательного клапана до восстановления уровня.

Если питательный насос подает воду на параллельно работающие котлы, то при отключении одного из них давление, создаваемое питательным насосом, увеличится (впоследствии уменьшения нагрузки котла). Увеличение давления приведет к повышенному количеству воды, подаваемой в оставшиеся в работе котлы, вследствие чего уровень в них повысится. Для предупреждения подобного явления в регулятор заводят еще один сигнал – по расходу питательной воды.

Автоматический процесс регулирования теплового режима котельного агрегата, работающего на турбину, осложняется еще тем, что турбина и котел как объект регулирования имеют разные скорость разгона, т.е. скорости восстановления номинала параметра. Турбина может изменять потребление пара со скоростью, сопоставимой с временем закрытия регулирующих клапанов. Изменение выработки пара котлом происходит значительно медленнее. Поэтому при резком сбросе или наборе нагрузки давление пара в паропроводе перед турбиной может значительно меняться.

Для защиты от резкого повышения давления в паропроводе служит быстро включающаяся редукционно-охладительная установка БРОУ. При сбросе нагрузки, когда давление пара быстро растет и регулятор нагрузки не успевает привести агрегат в нормальный режим, давление может подняться выше определенного предела, тогда регулятор давления РЛ открывает клапан БРОУ и сбрасывает излишек пара в конденсат турбины.

Обычно давление, на которое настроен регулятор РД, несколько выше настройки регулятора нагрузки, и до тех пор, пока регулятор нагрузки РН не приведет давление в барабане в норму, регулятор РД с помощью БРОУ будет поддерживать давление несколько выше нормального.

На такте газового топлива обязательно устанавливается отсечный клапан ОК. Его задачей является обеспечить отсечку газа в случае погасания факела в топке котла, иначе газ может выходить в помещение котельной. В качестве датчика погасания пламени используется фотоэлемент или термопара. Ток, проходя по обмоткам соленоида клапана ОК, удерживает его в открытом состоянии. При погасании пламени выходной сигнал термопары уменьшается, и клапан ОК закрывается. При розжиге котла клапан ОК открывается вручную.

Штрих пунктиром показаны связи автоматически, когда котел работает не в индивидуальном режиме, а в групповом – несколько котлов работают на один паропровод. В этом случае нельзя вести регулирование только индивидуальными регуляторами РН, так как при падении давления в магистрали оно упадет и на барабане каждого котла. Регулятор нагрузки каждого агрегата будет стремиться восстановить давление. Но так как агрегаты имеют разную инерционность, то те из них, которые менее инерционны (у которых скорость разгона больше), быстрее наберут необходимую мощность и быстрее восстановит давление. Но восстановление давления на барабане - это то же, что восстановление давления на магистральном паропроводе. Поэтому регуляторы котлов с большей инерционностью перестанут набирать нагрузку. Таким образом, котлы окажутся загруженными неравномерно.

Поэтому на электростанциях с общими паропроводами (поперечными связями между котлами и турбинам) применяются схемы каскадного регулирования давления пара с главным корректирующим регулятором.

Импульс давления отбирается в характерной точке общего паропровода и посылается на корректирующий регулятор КР. Корректирующий регулятор в свою очередь меняет задание основным регуляторам. Сигнал к основному регулятору котла в этом случае приходит от какого – либо другого параметра, например от расхода пара котлом. Регулятор РН подает команду на расход топлива в зависимости о количества отбираемого пара из котла, но при колебаниях давления в магистрали главный регулятор КР изменяет задание основному регулятору: у более инерционных котлов задание увеличивается, а у менее инерционных – уменьшается.


3.2Техническое задание на создание новой АСУ


3.2.1. Требования, предъявляемые к системе автоматизированного управления

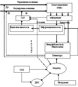
Автоматизированная система управления технологическим процессом (АСУ ТП) – это автоматизированная система управления для выработки и реализации управляющих воздействий на технологический объект управления. Всоответствии с принятым критерием управления АСУ ТП свойственны следующие признаки:

- АСУ ТП – это человеко-машинная система, в которой человек играет важнейшую роль, принимая в большинстве случаев содержательное участие в выработке решений по управлению;

- автоматические устройства в АСУ ТП - управляющие вычислительные комплексы (УВК), выполняющие трудоемкие операции по сбору, обработке и переработке информации;

- цель функционирования АСУ ТП – оптимизация работы объекта путем соответствующего выбора управляющих воздействий.

АСУ ТП нового поколения обеспечивают автоматизированный процесс принятия решений по управлению технологическим объектом как единым целым. Для этого в АСУ ТП применяются различные “интеллектуальные” автоматические устройства переработки информации, и прежде всего – современные программно-технические комплексы.

Исходя из особенностей технологии, оборудования и поставленных задач управления на котлоагрегате, а также из общих принципов построения современных систем автоматизированного управления выделим требования предъявляемые системе. Система автоматизированного управления должна:

  1. вести постоянный контроль над технологическим процессом, состоянием технологического оборудования;

  2. обеспечить возможность управления процессами и оборудованием с помощью средств полевой автоматики;

  3. обрабатывать показания аналоговых и дискретных датчиков и вести мониторинг технологического процесса с помощью пультов управления;

  4. производить диагностику и сигнализацию нарушений и аварийных ситуаций с их протоколированием;

  5. обеспечить возможность дистанционного управления регулирующими исполнительными механизмами, запорными пневмоклапанами

  6. и пуском-остановом приводов насосов, а также ведение истории их состояния;

  7. вести локальное регулирование, в основном автоматическая стабилизация технологических параметров (расход, уровень и т.п.);

  8. производить каскадное управление расхода питающего гидрата. В состав алгоритма верхнего каскада управления входят:

  • алгоритм управления производительностью участка;

  • алгоритм распределения нагрузки между сгустителями;

  1. производить расчет и прогноз сводных технологических и технико-экономических параметров и оперативный контроль над ними в часовом, сменном и месячном разрезах;

  2. обеспечить связь с существующей общезаводской управляющей сетью ПЭВМ;

  3. производить хранение и представление значений измеренных и расчетных величин.

Так же следует не забывать, что человек (выполняющий главенствующую роль в управлении процессом) подвержен влиянию множества внешних факторов. Поэтому следует также предусмотреть возможность слежения за действиями оператора, наложить ряд ограничений на ввод управляющих воздействий.


3.2.2 Требования к контроллерам

Контроллер – это вычислительное устройство, спрограммированное для применения в промышленности с учетом требований в надежности, безотказности в работе и простоты в обслуживании.

Главное качество, по которому следует проводить выбор контроллера – это быстродействие. Контроллер кроме этого должен обладать следующими свойствами:

  • Компактность; очень удобна модульная структура контроллера, позволяющая гибко подбирать конфигурацию, исходя из потребности заказчика;

  • Наличие резервных модулей (не менее одного модуля каждого типа) должно иметься в наличии на случай необходимости замены модуля.

  • Время, предоставленное на замену модуля, начиная с момента выхода его из строя, должно быть с вероятностью 95 % - 1час.


3.2.3 Требования к информационным потокам


В сервере УВК должны сохраняться данные, полученные обработкой показаний датчиков, в результате технико-экономических расчетов и расчетов по алгоритмам управления. Ниже в таблице 3.1 приведены ориентировочные количественные характеристики объемов сохраняемых данных в текущей (ТБ) и архивной (АБ) базе данных.

Необходимо предусмотреть для обмена информацией между создаваемым комплексом и существующей сетью ИУС через систему связи типа Ethernet: оборудование, алгоритмы обмена информацией и программное обеспечение со стороны комплекса.


Таблица 3.1 Характеристика информационных баз данных

Характеристики сохраняемых массивов

Количество величин в

ТБ

Длительность хранения в ТБ Период перекачки данных в архив Количество величин в АБ Время хранения в архиве
Тренды секундных значений величин 200 1 час по требованию 100 5 суток
Тренды средне минутных значений величин 1000 5 суток 8 час 100 2 месяца
Тренды среднечасовых значений величин 1000 5 суток 8 час 300 2 месяца
Тренды среднесменных значений величин 300 2 месяца 8 час 150 2 года
Протокол нарушений (диагностируемые величины) 800 5 суток 8 часов 300 2 месяца

Цикл работы контуров регулирования и опроса датчиков - не более 1 секунды. Максимальное время передачи сообщения от любого датчика до пульта – 2 секунды, от пульта оператора до регулирующего органа – 2 секунды, максимальное время ожидания видеокадра – 2 секунды.


    1. Выбор основных технических решений по управляющему вычислительному комплексу, ПО системы, пульту оператора, полевой автоматики и сети


      1. Выбор УВК


Выбор наиболее приемлемого варианта автоматизации представляет собой многокритериальную задачу, решением которой является компромисс между стоимостью, техническим уровнем, затратами на сервисное обслуживание и другими показателями.

По результатам проведённой работы: постановки и декомпозиции задачи управления; анализа существующего уровня автоматизации; технического задания на автоматизацию комплекса технических средств - выявляется необходимость проведения тендера по выбору типа управляющего вычислительного комплекса и средств полевой автоматики.

Тендер — мероприятие, с помощью которого можно выбрать оптимальное решение, проводя анализ по нескольким критериям с различной степенью важности.

Этапы проведения тендера:

1. Формирование перечня участвующих в тендере вариантов.

2. Выбор совокупности критериев, по которым должны оцениваться сравниваемые варианты.

3. Анализ характеристик каждого варианта (составление сравнительных таблиц: технических характеристик, надёжных характеристик, стоимостных параметров).

4. Оценка каждого варианта независимыми экспертами.

  1. Анализ результата решения многокритериальной задачи выбора и принятие окончательного решения.

Сформируем перечень управляющих вычислительных комплексов, участвующих в тендере:

  • контроллер “Ремиконт” Р-110 со SCADA-пакетом “Пилот”;

  • контроллер GE FANUC со SCADA-пакетом “Cimplicity”;

  • контроллер TREI со SCADA-пакетом “КРУГ”.

Выбор типа УВК осуществляем на основании проведения тендера среди вышеназванных комплексов. По каждому из предложенных вариантов была проработана документация, проведен сбор дополнительных материалов. Вся документация была приведена к виду, дающему наиболее полное и точное представление о комплексах и позволяющему легко проводить сравнение вариантов по выбранным критериям (таблица 3.2). Рассматриваемые варианты оцениваются экспертами - специалистами по контрольно-измерительным приборам и автоматизации. Они проведут объективный и обоснованный анализ и сопоставление представленных вариантов по каждому из критериев. Оценка сопоставляемых вариантов проставляется по десятибалльной шкале и приведена в таблице 3.3.


Таблица 3.2 Сравнительные характеристики УВК

Сравниваемый параметр

Ремиконт Р-110, г.Чебоксары, Россия

GE Fanuc, General

Electric, (США, Япония)

TREI GMBH,

(Германия)

1 Назначение, функции

Многоцелевой контроллер для решения задач автоматического регулирования:

- локальное;

- каскадное;

- ПИД-закон;

- супервизорное;

- статическое и динамическое преобразование сигналов.

Многоцелевой, многофункциональный контроллер для создания распределенных АСУТП, позволяет строить локальные, каскадные АСУТП, наращивать емкость контроллера путем присоединения плат расширения.

Многофункциональное устройство автоматического контроля и управления. Предназначен для управления технологическими процессами, воспринимает сигналы первичных преобразователей, выполняет программную обработку сигналов и т.д.

2 Архитектура топологии

1 ИРПС – PC, V=500кБт/сек

2 Ethernet, RPS-плата.

1 JeniusBus

2 Ethernet (TCP)

RS485 или RS232

1 ИРПС, RS232/485

2 Ethernet (TCP/IP)

3 УСО, информация о входных/выходных сигналах, тип, нестандартные модули УСО и т.д.

АЦП-Вх. Аналог. –64,

ЦАП-Вых.аналог. –64,

ДЦП-Вх. дискрет.–126,

ЦДП-Вых. дискрет.–126, РГ – модули гальванической развязки – 16 каналов

AI–Вх. аналог. –128 (на 4, 8 каналов),

AQ-Вых. аналог. –64 (на 4, 8 каналов),

I – Вх. дискрет. – 512

Q- Вых. дискрет. – 512 (I и Q на 16, 32 каналов)

CU – блок центральный – 4-12 плат

EU – блок расширения 4-16 плат

IOB – плата I/O – 16 каналов

AIB – плата аналогового ввода – 16 каналов


4 Тип микропроцессора

К580 CPU363, существуют и другие типы. CPU386/486, ISA-шина

5 Совместимость с PC

PC386 и выше PC486 и выше PC486 и выше

6 Конструктивы, габариты, внешний вид, конструкция подключения каналов.

Основа – шкаф, каркас (0,5м0,5м) на 16 модулей, включая 3 модуля (ПРЦ, ОЗУ, ПЗУ).

Подключение каналов: задняя клемная колодка, клемно-блочные соединители и другая коммуникация. Наличие блока питание, вентилятора.

Базовая плата -(0,4м0,15м) на 10 модулей, включая 2 модуля (питания, СPU).

Простота и удобство коммутации сигналов на лицевой стороне контроллера, безотверточное соединение.

12/16 местный CU и EU (483400365 мм), каркас монтажный, блок питания 5/12 В, интерфейс процессорный.

Канал – съемный элемент конструкции платы ввода/вывода (осуществляет функции нормирования и гальванической развязки)

7 Программирование, языки программирования, функциональные блоки.

Программирование, конфигурирование алгоблоков с использованием терминов автоматизации, не требует языков программирования.


Унифицированная система программирования – язык релейной логики (лестничных диаграмм). ПО программирования –VersaPro.

Программа “TREI-5B” – реализует функции конфигурирования контроллера, метрологического обеспечения и тестирования каналов ввода/вывода. Технологический язык КРУГОЛ.

8 Возможность программирования с пульта

1. Панель оператора – функциональные клавиши, индикаторы.

2. Связь с ПЭВМ.

1. Наличие пульта.

2. Более удобное программирование с ПЭВМ. 3. Изменение конфигурации и настроек непосредственно в процессе управления.

1 Управления при помощи стандартной клавиатуры

2 Управление с ПЭВМ

9 SCADA-пакет

“Пилот”

-позволяет выполнять мнемосхемы, динамизировать

- работает с алармами, трендами, панелями управления

- прост в эксплуатации

- не сохраняет данные в формате .dbf

- работает под DOS

“Cimplicity”

- позволяет создавать базы данных реального времени

- многофункциональный графический редактор

- алармы, сигнализация

- протоколирование, тренды

- работает под Windows

- не русифицирован

“Круг-2000” интегрированный пакет программ для построения информационной и управляющих систем в составе:

- графический редактор

- редактор динамики

- редактор печатных документов

- архивная станция


Таблица 3.3 Оценки экспертов по рассматриваемым вариантам

Показатель

Оценки 1 эксперта

Оценки 2 эксперта

Оценки 3 эксперта

Р110 Fanuc TREI Р110 Fanuc TREI Р110 Fanuc TREI

1 Решаемые функции, возможности контроллеров

7 9 8 8 9 9 7 9 8
2 Совместимость с PC 7 9 8 7 8 8 7 9 8
3 Удобство SCADA-пакета 7 8 7 7 8 7 6 8 7

4 Возможность работы в сети

7 9 8 6 8 8 7 9 8

5 Цена одного входа/ выхода

9 6 6 9 6 5 9 6 6
Средний балл: 7,4 8,2 7,4 7,4 7,8 7,4 7,2 8,2 7,4

В таблице 3.4 приведены сводные результаты проведения тендера по типу УВК.


Таблица 3.4 Сводные результаты оценки УВК

Тип УВК

Средняя оценка всех экспертов

Ремиконт Р-110, “Пилот” 7,33
GE Fanuc, “Cimplicity” 8,07
TREI, “Круг-2000 ” 7,40

По результатам проведения тендера в качестве управляющего вычислительного комплекса для создания АСУТП выбираем микропроцессорный контроллер GE Fanuc со SCADA-пакетом “Cimplicity”.


Описание программно технического комплекса - контроллер GeneralElectric - Fanuc и SCADA пакет CIMPLICITY. В основу разработки системы положены следующие основные принципы:

  • построение на современных высоконадежных технических и программных средствах;

  • обеспечение возможности функционирования УВК в качестве одного из звеньев интегрированной автоматизированной системы диспетчерского контроля и управления котлоагрегатом;

  • обеспечение возможности как поэтапного внедрения компонентов УВК, так и внедрения всего УВК в целом;

  • создание хороших условий работы операторов и обслуживающего персонала.

Для построения системы выбраны:

  • программируемые логические контроллеры серии 90-30 GE Fanuc [10];

  • программное обеспечение для создания интерфейса HMI Cimplicity.

Такой выбор обусловлен тем, что:

  • контроллеры серии 90-30 фирмы GE Fanuc обладают высокой эксплутационной надежностью, что подтверждено сертификатами (производство контроллеров имеет сертификат качества ISO 9001, контроллеры имеют сертификат Госстандарта России как средство измерения, сертификат TUV на применение в системах противоаварийной защиты на объектах класса от 1 до 5 по классификации DIN VDE 0801).

  • возможность непосредственного подключения широкой номенклатуры датчиков без промежуточного преобразования (нормализации).

  • возможность сопряжения с другими системами автоматизации и системами автоматизации вышестоящих уровней с использованием широкой номенклатуры стандартных протоколов обмена. В том числе наличие коммуникационного модуля, позволяющего подключать контроллер к сети Ethernet с протоколом TCP/IP. При таком подключении контроллер является узлом в сети и может быть виден с любого другого узла этой сети.

  • возможность переноса части алгоритмов управления непосредственно на контроллер (при помощи прикладного программного обеспечения VersaPro), что увеличивает быстродействие и надежность системы автоматизации в целом.

  • контроллеры серии 90-30 фирмы GE Fanuc имеют модульное построение, незначительные габаритные размеры, что обеспечивает удобство монтажа и эксплуатации.

Контроллеры Fanuc - совместного производства фирм GE (США) и Fanuc(Япония). Cimplicity – базовый пакет этих контроллеров, кроме него с GE Fanuc могут работать Fix (Индасофт, Москва).

Контроллеры представляют собой терминальные базы на 10 или 5 модулей (блок питания, процессор, модули ввода-вывода, специальные модули). Один контроллер состоит из четырех до восьми терминальных баз в зависимости от мощности процессора (см. рис 2.2).


Рис 2.2 Общий вид контроллера GE Fanuc


Модули ввода-вывода 8, 16, 32 канальные (модули на 4 и 8 каналов - с гальванической развязкой). Номенклатура модулей очень широкая: дискретные - до 220 В., аналоговые кроме 0-5 мА (используются 0-20 мА или 0-10 В), милливольты, термопары, термосопротивления, дифтрансформаторных нет. Дискретные модули имеют индикацию состояния каждого канала. Максимальная емкость контроллера составляет при 8 терминальных базах 216 аналоговых входов, 416 дискретных входов и 416 дискретных выходов.

Для программирования и конфигурирования контроллера используется VersaPro под Windows – все преимущества программ по ОС Windows, язык релейных и лестничных диаграмм, работа с программой (редактирование) в режиме on-line и off-line с отображением текущих значений. Программа - графическое поле, слева входы, справа - выходы, посередине вставляются блоки (например, триггеры, сумматоры, звено ПИД-преобразования), описываются их входные/выходные переменные и соединяются проводниками или ссылками. Возможна вставка подпрограмм. Документирование в различных видах.

Для разработки автоматизированного рабочего места (АРМ) используется SCADA-пакет Cimplicity. Обладает всеми достоинствами современного SCADA-пакета. Среда разработки - англоязычная. Рабочее пространство разработчика выглядит в стиле таких распространенных программ как Visual Basic или Проводник операционной системы Windows. Можно перемещаться по разделам проекта, создавая и редактируя отдельные элементы и приложения (тренды, архивы, тревоги, доступ, база данных реального времени и др.). Интерфейс оператора - русский. Возможна связь с информационной системой предприятия (прямое считывание и запись данных в базы на сервере) - дополнительных технических и программных средств не требуется. Важной особенностью является встроенный язык программирования - Microsoft Visual Basic, обмен с ИУС реализован с его помощью - команда пишется один раз, далее изменяется только имя базы и номер описателя. Иногда для организации рабочих мест проще в сервер системы установить дополнительную опцию - Web Gateway и тогда с любой ПЭВМ сети завода можно просматривать текущее состояние системы через Internet Explorer в формате страниц HTML.

Для обслуживания автоматических регуляторов, приборов теплотехнического контроля, устройств технологической защиты блокировки сигнализации и других средств автоматизации вместе с их коммуникациями и другими элементами на электростанции организуется цех тепловой автоматики и измерений (ЦТАИ), непосредственно подчиненный главному инженеру и действующий на правах самостоятельной единицы.

На маломощных электростанциях (не районного значения) вместо цеха часто организуется лаборатория или группа автоматики и измерений с такими же задачами, но более простой структурой.

На крупных заводах с большим количеством производственных цехов организуются центральные цехи тепловой автоматики и технологического контроля, обслуживающие производственные цехи и теплосиловое хозяйство завода.

Положение о цехе ТАИ среди других подразделений предприятий определяется Правилами, утверждаемыми в установленном порядке. Для всех работников энергетической промышленности обязательно соблюдение «Правил технической эксплуатации электрических станций и сетей». Не менее важны и другие действующие детективные документы и правила, содержащие сведения об обслуживании энергетического хозяйства. К их числу относятся «Правила техники безопасности при эксплуатации электроустановок станций и подстанций» (ПТБ). Персонал цеха ТАИ получает право работать на электростанциях только после изучения и сдачи экзамена на знание упомянутых документов, после чего им выдается удостоверение. В своей работе персоналу цеха ТАИ приходится пользоваться многочисленными техническими документами: чертежами и схемами установок контроля и управления, инструкциями и руководящими указаниями заводов – изготовителей аппаратуры.

Основная задача цеха – поддержание в работоспособном состоянии приборов теплового контроля, авторегуляторов и других средств автоматизации. Цех выполняет большую часть работ по ремонту приборов и авторегуляторов. В его обязанности входит также поверка измерительных приборов, настройка регуляторов, устройств защит блокировки и сигнализации на заданные параметры. На цех ТАИ возлагается обязанность ведомственного надзора за состоянием измерительных приборов. Ему доверяется государственное клеймо, удостоверяющее о соблюдении установленных законом сроков поверки приборов и соответствии нормам погрешности из измерений.

Для выполнения своих задач цех имеет лаборатории и мастерские, оснащенные необходимыми контрольными и образцовыми приборами, стендами, инструментом и станочным оборудованием.

Увеличение единичной мощности агрегатов и электростанций в целом и переход на блочную компоновку оборудования привели к замене децентрализованного управления агрегатами – централизованным.

Децентрализованное управление характерно для электростанций, на которых каждый агрегат станции (котлы и турбины) пускался и управлялся с индивидуального или группового щита управления. При нормальной работе агрегат обслуживался системой автоматических регуляторов, а щит служил лишь для наблюдения за его работой по приборам, число которых было относительно небольшим. Централизованное управление характерно для электростанций с блочными установками большой мощности, когда с мнемосхемы на ЭВМ происходит управление всеми агрегатами блока. На первом этапе освоения блока операции пуска и остановка оборудования выполнялись вручную с помощью ключей дистанционного управления запорными и регулирующими органами, сосредоточенными на пультах управления блоком. Наблюдение за ходом процесса велось по приборам, расположенным на панелях щита.

По мере усложнения и укрупнения агрегатов число приборов, необходимых для наблюдения за процессом, возрастало. Так, уже на блоках 200МВт с барабанными котлами персонал должен был следить за значениями 560 технологических величин и дистанционно управлять 280 органами. Перспективными оказалось применение средств вычислительной техники для контроля за работой и управления происходящими в них процессами.

Информационно – вычислительные машины могут выполнять разные функции, начиная от контроля за работой агрегатов. Машинам можно поручить сигнализацию и регистрацию аварийных отклонений параметров от нормы; они могут вычислять технико – экономические показатели ТЭП в процессе работы оборудования. Это дает возможность корректировать процесс, поддерживая его на оптимальном уровне вручную или автоматически.

Однако поручить вычислительным машинам все функции управления еще не представляется возможным, так как для этого требуется, чтобы надежность их была выше надежности основного оборудования блока. Без этого вычислительные машины могут применяться только как существенное дополнение к обычной системе автоматического регулирования.

В настоящее время наметилось несколько вариантов (этапов) освоения вычислительных машин для управления агрегатами электростанций. Основные из этих вариантов следующие:

  1. Применение вычислительной машины в качестве информационной (ИВМ). При этом машина воспринимает необходимое количество параметров работы оборудования (информации), фиксирует их в своем запоминающем устройстве (памяти машины), сравнивает с заложенными в памяти нормальными (заданными) величинами и в случае отклонения подает сигнал, начинает запись отклонившейся величины и выводит ее на один из контрольных приборов, работающих по вызову. Кроме того, при такой системе ограниченное число наиболее важных величин непрерывно показывается и регистрируется обычными приборами теплотехнического контроля.

  2. На втором этапе информационная машина, выполняющая те же функции, что и в п.1, снабжается вычислительным устройством и производит расчеты технико - экономических показателей, заменяя работу группы учета. К таким показателям относятся к.п.д. котлоагрегата и блока в целом, величина отдельных потерь тепла, удельный расход электроэнергии на собственные нужды и др. Так как вычислительная машина может выполнять расчеты практически любой сложности по заложенным в ее запоминающее устройство программам в короткий срок, то выдаваемые ею сведения поступают к дежурному инженеру и оператору блочного щита управления своевременно и они успевают воздействовать на процесс в направлении повышения его экономичности (оптимизации). Информационно – вычислительную машину при такой схеме управления часто называют «советчиком оператора»

  3. Следующий этап (рис. 4) заключается в применении вычислительной машины в качестве контроллера. На этом этапе воздействие машины на органы управления процессом осуществляется через систему автоматического регулирования (управления). Отличие от предыдущего варианта (п.2) заключается в том, что здесь оптимизация процесса выполняется не вручную оператором, а непосредственно машиной по результатам расчета технико – экономических показателей ее вычислительным устройствам. В этом варианте вычислительная машина выполняет функции корректирования процесса через задатчики авторегуляторов. Запоминающее устройство машина содержит программы, по которым она автоматически осуществляет пуск, останов, перевод на пониженную нагрузку и другие операции по управлению агрегатами. Информационная часть машины выполняет те же операции, что и в предыдущих вариантах. При выходе контроллера из строя система авторегулирования и защиты полностью остается в действии. Снижается лишь экономичность работы блока. Не требуется также особого быстродействия машины, так как необходимую скорость выполнения операции обеспечивают автоматические регуляторы и устройства защиты. Описываемый вариант с оптимизирующей вычислительной машиной (каскадное управление) служит этапом к замене вычислительной машины всех функции управления блоком.

  4. Вариант прямого управления блоком с помощью УВМ предусматривает максимальное использование всех возможностей, заложенных в вычислительной машине, для автоматического управления теплоэнергетическим оборудованием электростанций. Обычная система автоматического регулирования и защиты отсутствует, т.к. ее функции непосредственно выполняет УВМ, прямо воздействующая на исполнительные механизмы органов регулирования и управления. Машина выполняет все функции информационной и вычислительной части, оптимизирует процесс, пускает и останавливает оборудование, предохраняет его от возникновения развития аварий. Этот вариант требует от УВМ высокой надежности, т.к. выход ее из строя неизбежно приводит к остановке всего блока. Установка же второй (резервной) машины приводит к неоправданному увеличению стоимости системы управления.

Рис.6 Схема каскадного управления блоком, с применением контроллера

Операторская станция - это мощный интерфейс на базе видеомонитора, обеспечивающий отображение и адресацию 10000 тегов. Такие возможности в сочетании с усовершенствованным управлением информацией делают операторскую станцию идеальным интерфейсом для систем общезаводского (цехового) управления. Станция позволяет конфигурировать 1500 экранных форм, 1000 трендов и 260 заказных сообщений и выводить их на видеомониторы высокого разрешения, распечатывать и организовывать их в файлы. Помимо представления данных в различных формах операторская станция даёт возможность использовать процессор прикладных задач (мощную универсальную ЭВМ) для анализа данных расчетов и итоговых отчётов.

Для операторской станции управления котлоагрегатом рекомендуется использовать ПЭВМ «Pentium-4» с пакетом CIMPLICITY, который обеспечивает:

1) управление технологическими процессами с помощью промышленных микропроцессорных контроллеров и IBM PC;

2) представление объекта управления на мнемосхемах, трендах, панелях управления;

3) контроль значений технологических параметров и обработка аварийных ситуаций в реальном времени;

4) оперативное управление контурами регулирования;

5) накопление данных в архиве на диске с возможностью дальнейшей обработки;

6) автоматическая генерация отчётов.


3.3.1 Выбор средств полевой автоматики (ПА)

В соответствие с функциональной схемой автоматического регулирования работы котла на базе регуляторов будем использовать следующие средства ПА, представленные в таблице 2.

Так как ПА обеспечивает получение первичной информации (посредством датчиков), на основе которой складывается представление о состоянии технологического процесса, то на выбор ПА налагаются некоторые огра­ничения, например:

  1. Температура, влажность, давление, вибрации, при которых ПА нор­мально работает;

  2. Класс точности прибора, допустимые погрешности;

  3. Выходной сигнал (он должен быть стандартным, или иметь возмож­ность преобразования в такой сигнал).

Расходомер.

К датчику измерения расхода предъявляются следующие требования:

  1. пределы измерения – 0 – 400 м3/ч;

  2. класс точности – 0,5;

  3. измеряемая среда - пульпа плотностью 1,2-1,7 кг/л, температура 0–100 0С, содержание твёрдого 200-300 гр./л;

  4. параметры окружающей среды – температура 10 – 30 0С, влажность 20-60%.

Для проведения тендера взяты датчики PROMAG-33F и VA-2303. По этим датчикам был собран материал, основные характеристики представлены в таблице 3.5.


Таблица 3.5 Основные характеристики расходомеров

Параметры

Promag 33F

VA 2303

Устойчивость к внешним воздействиям

1.Температура окружающей среды от –20 до +600С

2. При установке на открытом воздухе необходимо установить кожух для защиты от попадания прямых солнечных лучей

3. Устойчив к ударам и вибрациям.

1. Первичный преобразователь – защищён от попадания внутрь пыли и воды, устойчив к воздействию температуры окр. воздуха от –30 до +55С и относительной влажности 95% при температуре 35С и более низких температурах без конденсации влаги, устойчив к воздействию атмосферного давления от 84 до 106,7 кПа.

2. Вычислитель – защищён от попадания внутрь пыли и воды, устойчив к воздействию температуры окр. воздуха от 5 до 55С и относительной влажности 80% при температуре 35С.

Точность 0,01% Неустойчивые показания расхода пульп с большим содержанием гр. тв/литр.

Удобство в обслуживании

Возможность установки датчика непосредственно на передатчике или в удалении от него. Наличие лицевой панели с жидкокристаллическим индикатором, индикация состояния прибора и возникновения неполадок

Большой выбор типа выходного сигнала, жидкокристаллический индикатор, стандартный последовательный интерфейс RS232, два варианта крепления вычислительного блока (щитовой и настенный).

Срок службы

18 лет 12 лет

Преобразователи расхода VA2303 предназначены для преобразования значения расхода невзрывоопасной жидкости, проходящей через первичный преобразователь, в унифицированные выходные электрические частотные сигналы и сигнал постоянного тока.

Расходомер PROMAG-33F используется для измерения потока жидкостей, например:

- Кислоты, щелочь, целлюлоза;

- Питьевая вода, сточные воды, отстой сточных вод;

- Молоко, пиво, вино, минеральная вода, йогурт, патока, и т.д.


Собранные данные были предоставлены инженерам Контрольно-Измерительных Приборов (КИП) для выставления оценок по 10 бальной шкале.


Таблица 3.6 Оценки экспертов

Критерий

Оценки 1 эксперта

Оценки 2 эксперта

PROMAG-33F VA2303 PROMAG-33F VA2303

Устойчивость к воздействию внешней среды

8 7 7 6
Точность 9 3 9 4

Удобство в обслуживании

9 6 9 7
Средний балл 8,6 5,3 8,3 5,6

В таблице 3.7 приведены сводные оценки экспертов.


Таблица 3.7 Сводные оценки

Датчик Оценка
PROMAG-33F 8.5
VA2303 5.5

В качестве измерителя расхода воды будем использовать датчик PROMAG-33F.

Уровнемер.

К датчику измерения уровня предъявляются следующие основные требования:

  • пределы измерения уровня 3 – 18 м;

  • требуемый класс точности – 0,5;

  • параметры измеряемой среды – суспензия, температура 0-100С, содержание твердого 20 - 70%.

Причинами замены являются физический износ, низкая точность измерения, зарастание отбора. Сравнительная характеристика и основные параметры для проведения тендера по предлагаемым вариантам модернизации представлены в таблице 3.8.


Таблица 3.8 Сравнительные характеристики предлагаемых вариантов

Критерий сравнения

ДМ-0,4 “Сапфир-22ДД”

Микроволновый уровнемер

VEGAPULS-64

Устойчивость

к внешним

воздействиям

1 Зарастание отборного устройства

2 Зависимость показаний прибора от плотности измеряемой среды

3Механически прочный, достаточно надежный прибор

4 Непосредственный контакт с измеряемой средой

1 Зарастание отборного устройства

2 Зависимость показаний прибора от плотности измеряемой среды

3 Высокая надежность, устойчивость и стабильность прибора

4 Непосредственный контакт с измеряемой средой

1 Измерение бесконтактно и без износа уровня различных материалов

2 Независимость от температуры, давления, плотности, шума, состава газа

3 Высоконадежный, противостоит экстремальным химическим и физическим условиям

4Без подвижных частей и механического износа

Точность

Предельная погрешность – 1%

Предельная погрешность – 0,5%

Высокая точность измерения – 0,25%

Удобство

в обслуживании

1Широкое использование и знание прибора обслуживающим персоналом

2 Простота монтажа

3 Необходим преобразователь типа НП-П3

4 Периодическая продувка отборного устройства.

1 Простота монтажа

2 Наличие встроенного электронного устройства с выходным сигналом 0-5 мА

3 Укомплектован собственным блоком питания 4БП-36

4 Периодическая продувка отборного устройства

1Некоторые настроечные и предналадочные работы

2 Удобство монтажа и “неприхотливость” в обслуживании.

3 Малое потребление электроэнергии, ресурсосберегающий

4 Возможность индикации и настройки через цифровой порт компьютера

Выходной сигнал

0-5 мА 0-5 мА 0-20 мА
Стоимость 10’000 тенге 25’000 тенге 500’000 тенге

Срок службы

7 лет 8лет 8 лет

Оценка сопоставляемых вариантов проставляется по десятибалльной шкале и приведена в таблице 3.9.


Таблица 3.9 Оценки экспертов по рассматриваемым вариантам

Показатель

Оценки 1 эксперта

Оценки 2 эксперта

Оценки 3 эксперта

ДМ

Сапфир

Vegapuls

ДМ

Сапфир

Vegapuls

ДМ

Сапфир

Vegapuls

Устойчивость к внешним воздействиям

5 6 9 6 7 10 5 7 9
Точность 6 7 10 5 7 10 6 8 10

Удобство в обслуживании

6 7 8 6 7 8 6 8 8
Стоимость 8 8 6 8 7 5 8 7 6

Срок службы

7 7 7 8 8 7 7 7 7
Средний балл: 6,4 7 8 6,6 7,2 8 6,4 7,4 8

В таблице 3.10 приведены сводные результаты проведения тендера по контрольно-измерительным приборам.


Таблица 3.10 Сводные результаты оценки средств измерения

Тип датчика

Средняя оценка всех экспертов

ДМ – 0,4 6,5
“Сапфир –22ДД” 7,2

Микроволновый уровнемер

8,0

По результатам проведения тендера в качестве контрольно-измерительного прибора для измерения уровня принимаем бесконтактный микроволновый уровнемер, радарный сенсор “Vegapuls-64”. Данный выбор является рациональным, сенсоры ориентированы на надежность, длительность в применении и тем самым на долгосрочные инвестиции.


Плотномер радиоизотопный ПР-1027.

Плотномер радиоизотопный ПP-1025М предназначен для измерения плотности жидких сред и пульп, контроля (регулирования) технологических процессов. Технические характеристики:

  • напряжение питания 220 В. с допустимыми отклонениями от +10% до -15%, частотой 50 1 Гц;

  • температура окружающего воздуха для блока детектирования от +5 до +40°C, для регистратора от +5 до +50°C;

  • относительная влажность окружающего воздуха до 80% при температуре 35°C;

  • отсутствие механических вибраций для регистратора;

  • допускается воздействие на блок детектирования вибрации частотой от 5 до 30 Гц и амплитудой не более 0.1 мм;

  • допускается воздействие на блок детектирования брызг воды, падающих в любом направлении;

  • допускается воздействие на блок детектирования пылевой смеси с частицами размером не более 200 мкм, движущейся со скоростью 5 м/с;

  • допустимый угол наклона блока детектирования от горизонтальной плоскости не более 5°.


Механизм исполнительный однооборотный МЭО-100/25.

Исполнительный механизм МЭО с постоянной скоростью предназначен для перемещения регулирующих органов в соответствии с коммутирующими сигналами управляющих устройств. Принцип работы механизмов заключается в преобразовании сигнала, поступающего от регулирующих или управляющих устройств, во вращательное перемещение выходного вала. Токовый датчик устанавливается на механизмы с полным ходом выходного вала 0,25 оборотов.

Технические характеристики:

напряжение питания - 220/380 В.,50 Гц;

вибрация - до 30 Гц;

диапазон температуры окружающей среды от - 30 до + 50°C;

потребляемая мощность - 260 Вт.


      1. Требования к программному обеспечению (ПО)


Система программного обеспечения CIMPLICITY, предназначена для работы на разнообразных компьютерных платформах и операционных системах. Компьютерная платформа, как правило – это PC – совместимые персональные компьютеры (WINDOWS 95TM и WINDOWS NTTM).

SCADA – пакет должен отвечать требованиям:

  1. Графическое представление хода технологического процесса, а также принятой и архивной информации в удобной для восприятия форме (мнемосхемы, таблицы, тренды);

  2. Диагностика и сигнализация нарушений и аварийных ситуаций с их протоколированием;

  3. Возможность дистанционного управления регулирующими исполнительными механизмами;

  4. Надежность.

Для более эффективного функционирования системы автоматизации можно предъявить к Scada-пакету следующие требования:

  1. Контроль над технологическим процессом, состояние технологического оборудования и управление процессами и оборудованием с помощью средств ПА (сбор показаний датчиков).

  2. Преобразование сигналов от датчиков.

  3. Обработка полученной от датчиков информации.

  4. Графическое представление хода технологического процесса, а также принятой и архивной информации в удобной для восприятия форме (мнемосхемы, таблицы, тренды).

  5. Диагностика и сигнализация нарушений и аварийных ситуаций с их протоколированием.

  6. Локальное регулирование, - стабилизация расходов в аппараты.

  7. Каскадное регулирование – стабилизация плотности под конусами промывателей.

  8. Возможность обмена данными (информации) по сети с другими рабочими станциями.

  9. Дистанционное управление регулирующими исполнительными механизмами.

CIMPLICITY HMI – пакет программ, созданный фирмой GE Fanuc для разработки ПО автоматизированных рабочих мест в АСУ ТП. Пакет работает под управлением операционных систем Windows 95, Windows 98 и Windows NT, Unix и других. В состав пакета входят программы, позволяющие создавать рабочие места технологического и обслуживающего персонала на всех уровнях управления технологией.

Программное обеспечение CIMPLICITY HMI имеет следующую структуру:

  • Сервер - базовые возможности (HMI Server base)

  • Опции (Options): рецептуры, статический анализ, пейджер, «горячее» дублирование, Web-сервер …

  • Клиент - просмоторщик (HMI Viewer) – то же, что и сервер, но без собственных переменных и связи с контроллером.

Рекомендуется аппаратное обеспечение для Intel – платформ: Pentium 90, 64 Мб ОЗУ, 180 Мб. на диске.

Создавая с помощью CIMPLICITY HMI узел (АРМ) создается проект. Проект содержит в себе полное описание настроек данного узла, описание базы данных, мнемосхемы. Он записывается на диск в отдельный каталог, имеющий по умолчанию то же имя, и может быть перенесен на другой компьютер простым копированием.

CIMPLICITY Workbench похож на проводник Windows. Окно Workbench разделено на два поля. В левом отображены разделы открытого проекта, а в правом – содержимое текущего раздела.

Кроме SCADA – пакета, фирма GE Fanuc выпускает контроллеры серии 90-30 и 90-70, относящиеся к программируемым логическим контроллерам. Программный пакет Versa Pro предназначен для конфигурирования и программирования контроллера.

Программно-технический комплекс характеризуется надежностью, хорошими потребительскими свойствами, а также высокой скоростью информационных систем.


      1. Требования к сети


Необходимо предусмотреть для обмена информацией между создаваемым комплексом и существующей сетью через систему связи типа Ethernet оборудование, алгоритмы управления и программное обеспечение со стороны комплекса.

Цикл работы контуров регулирования и опроса датчиков, - не более 1 сек. Максимальное время передачи сообщения от любого датчика до пульта – 2 сек., от пульта оператора до регулирующего органа – 2 сек., максимальное время ожидания смены видеокадра – 2 сек.


  1. Проект АСУ


    1. Функциональная схема автоматического регулирования работы котла


Функциональная схема систем автоматизации технологических процессов является основным техническим документом, определяющим структуру и характер систем автоматизации технологических процессов, а также оснащения их приборами и средствами автоматизации. На функциональной схеме дано упрощенное изображение агрегатов, подлежащих автоматизации, а также приборов, средств автоматизации и управления, изображаемых условными обозначениями по действующим стандартам, а также линии связи между ними.

Схема автоматизации регулирования и контроля парового котлоагрегата предусматривают следующие системы:

  • система автоматического регулирования и контроля тепловой нагрузки котла;

  • система автоматического регулирования и контроля питания котла;

  • система автоматического регулирования и контроля разрежения в топке котла;

  • система автоматического контроля давления;

  • система автоматического контроля температуры.

На основе принципиальной технологической схемы, структуризации задачи управления разрабатываем функциональную схему автоматизации, на которой показано все технологическое оборудование, технологические связи, приборы и средства автоматизации, обозначены их установки (по месту, на щите) и позиции каждого прибора.

Функциональная схема автоматического регулирования представлена в приложении 3.

В схемах автоматизации паровых и водогрейных котлов, работающих на газообразном и твердом топливе, применяются управляющие устройства КУРС-101. Устройства предназначены для работы в интервале температур от +5 до +50 при относительной влажности во всем диапазоне рабочих температур 30-80%. Питание устройства осуществляется от сети трехфазного переменного тока напряжением 220ВА.

Управляющее устройство КУРС-101 обеспечивает:

  • автоматический пуск и останов котла;

  • предварительную вентиляцию топки;

  • необходимые в пусковой период блокировки;

  • позиционное автоматическое регулирование тепловой мощности котла;

  • автоматическую защиту при аварийных ситуациях;

  • рабочую и аварийную сигнализацию;

  • формирование сигнала аварии на диспетчерский пункт.

Управляющее устройство конструктивно выполнено по блочно-модульному принципу и включает панель управления и сигнализации (ПСУ), шкаф с поворотной рамой и шкаф магнитных пускателей.

Панель управления и сигнализации (ПСУ) объединяет модуль сигнализацииС-02 с индикаторными лампами по следующим параметрам:

  • предварительная вентиляция;

  • температура воды (предельная); давление пара (предельное);

  • послеостановочная вентиляция.

Индикаторная лампа «Работа» сигнализирует о нормальной работе устройства, индикаторные лампы «Газ» и «Мазут» - о виде топлива, на которое включено устройство.

В панель включены также индикаторные лампы «Водогр» и «Паровой», сигнализирующие о режиме работы котла, на который включено устройство; индикаторная лампа «Напряжение», сигнализирующая о наличии напряжения электрического источника питания на входе в устройство; индикаторная лампа «АВР пит. насоса», сигнализирующая об автоматическом включении резервного питательного насоса (при работе котла в паровом режиме); индикаторная лампа «Авария» - о наступлении аварийного режима по любому параметру.

Модуль сигнализации С-01 с индикаторными лампами сигнализирует первопричину аварийного отключения котла: уровень низкий; уровень высокий; давление газа перед регулирующим органом высокое; температура мазута низкая; давление топлива перед клапаном – отсекателем низкое; давление вторичного воздуха низкое; давление газа перед горелкой низкое; давление первичного воздуха низкое; факела нет; клапан – отсекатель не закрыт; пламени запальника нет.

Блок кнопок управления имеет кнопку «Пуск» включения логической схемы управляющего устройства и пуска котла; кнопку включения «Регулирование ВКЛ» и отключения «Регулирование ОТКЛ» регулирования с модулем К-01; кнопку «Стоп» для отключения устройства и приведения схемы в исходное предпусковое состояние.

В систему управления и сигнализации включен указатель типа ИПУ положения регулирующего органа.

В шкафу с поворотной рамой размещены: блок П-11А для обеспечения электрического питания элементов схемы; блок У-04 для управления двигателем исполнительного механизма МЭО-4/100; блок Ф-03 для подачи напряжения на бобину катушки зажигания (Б-01), установленную на горелке котла.

Перечисленные устройства объединены в блок управления БУ-01. Здесь же размещены: блок переключения БП-01 рода топлива, режима работы (паровой, водогрейный, опробование питательного насоса), питательных насосов (№1, №2), опробования и нормальной работы вентиляторов, включения и отключения напряжения на входе устройства; блок Р-01 реле, управляющих электромагнитными исполнительными устройствами; блок Б-1 для размещения и межмодульного монтажа с помощью штепсельных разъемов и жгутов.

Электропусковая аппаратура размещается в шкафу магнитных пускателей.

Пуск котла (при включенном электрическом питании и отсутствии сигналов, фиксирующих аварийное состояние какого-либо параметра или предельное состояние основного параметра – температуры воды или пара) осуществляют нажатием кнопки «Пуск». После этого исполнительным механизмом осуществляется полное открытие регулирующих органов топлива и воздуха (об этом судят по показаниям указателя положения), включаются магнитные пускатели первичного воздуха и вторичного воздуха, включается отсчет времени предварительной вентиляции. По истечении времени предварительной вентиляции (с) автоматика выдает сигнал на исполнительный механизм, прикрывающий воздушную заслонку и регулирующий заслонку на подаче топлива до 20 % открытия, подается напряжение на катушку зажигания Б-1 и на клапаны запальника. Если в течение времени с не произойдет розжиг запальника, появляется сигнал «Авария», включается послеостановочная вентиляция, обесточиваются клапаны запальника и катушка зажигания. Продолжительность послеостановочной вентиляции с, после чего обесточиваются цепи магнитных пускателей вентиляторов.

В случае розжига запальника обеспечивается подача напряжения на клапаны отсекателя и обесточиваются катушки зажигания Б-1. розжиг горелочного устройства происходит в течение с. Если за это время розжиг горелочного устройства не происходит, включаются сигнал «Авария» и послеостановочная вентиляция, обесточиваются клапаны запальника и клапаны – отсекатели на линии подачи топлива. По истечении времени послеостановочной вентиляции обесточиваются магнитные пускатели вентиляторов.

При розжиге горелочного устройства по истечении времени окончания пуска (с) регулирующие органы топлива и воздуха переводятся в положение 40% открытия. Катушки клапанов запальника обесточиваются через с - времени совместной работы запальника и горелочного устройства.

Работа котла в режиме 40%-ной нагрузки продолжается в течение времени, оговоренного инструкцией по эксплуатации котла, необходимого для прогрева всех элементов, после чего может быть включено кнопкой «Регулирование ВКЛ» автоматическое регулирование основного параметра котла – температуры горячей воды или давления пара. Автоматическое регулирование осуществляется перемещением исполнительного механизма, регулирующего подачу топлива и воздуха, в положение 40 и 100%.

В случае достижения предельного состояния регулируемого параметра схемой обесточиваются цепи питания клапанов – отсекателей на линии подачи топлива, происходит перемещение регулирующих органов топлива и воздуха в положение 20%-ного открытия, включается послеостановочная вентиляция, по истечении времени работы котла обесточиваются цепи питания магнитных пускателей вентиляторов. При снятии сигнала предельного состояния параметра схемой обеспечивается автоматический пуск котла в указанной выше последовательности.

Автоматическое регулирование отключается нажатием кнопки «Регулирование ОТКЛ», сопровождающимся переключением исполнительного механизма в положение до 40%-ного открытия регулирующих органов топлива и воздуха.

Отключение котла осуществляется нажатием кнопки «Стоп», сопровождающимся обесточиванием цепей клапанов – отсекателей топлива, автоматическим перемещением регулирующих органов топлива и воздуха в положение 20%-ного открытия, включением послеостановочной вентиляции, обесточиванием цепей управления магнитными пускателями вентиляторов.

Если в процессе нормальной работы или в пусковом периоде в управляющее устройство поступит сигнал об аварийном состоянии какого-либо параметра, загораются сигнал «Авария» и индикаторная лампочка, соответствующая первопричине аварии, а также индикаторная лампочка «Послеостановочная вентиляция». Одновременно обесточиваются цепи управления клапанами – отсекателями топлива, что сопровождается погасанием лампы «Работа»; регулирующие органы топлива и воздуха перемещаются в положение 20%-ного открытия. Как только истечет время послеостановочной вентиляции, обесточиваются цепи управления магнитными пускателями вентиляторов, о чем свидетельствует погасание индикаторной лампочки «Послеостановочная вентиляция». Снятие сигнала «Авария» осуществляется нажатием кнопки «Стоп».

Система аварийной сигнализации управляющего устройства предусматривает фиксацию:

  • понижения уровня воды в котле;

  • повышения уровня воды в котле;

  • понижения давления топлива перед клапаном – отсекателем;

  • понижения давления первичного воздуха;

  • отсутствия закрытия клапанов – отсекателей.


5. Система автоматического регулирования подачи топлива в печь спекания


5.1 Решение элементарных задач анализа САУ


5.1.1 Ориентировочное оценивание динамических параметров каналов управления


Разгонная характеристика, полученная экспериментальным путем, приведена на рисунке 5.1.1.

Экспериментальные кривые обрабатывают известными методами, получая оценки динамических параметров звена управления. Сопоставляя кривые Y(t) и U(T), видим, что анализируемый объект обладает самовыравниванием, является неколебательным и имеет запаздывание. Проведенные исследования показали, что модель печи аппроксимируется апериодическим звеном первого порядка с запаздыванием.

коэффициент усиления –

нормированная постоянная запаздывания - =1(мин);


постоянная времени - Т=16-1=15(мин).


Переходя к абсолютным единицам измерения, коэффициент передачи принимает значение:

.

Диапазоны колебаний в относительных единицах: постоянной времени 27%, транспортного запаздывания 33%, коэффициента усиления 15%.

Диапазоны колебаний в абсолютных единицах: постоянной времени Т=154,05, транспортного запаздывания =1 0,33, коэффициента усиления Ку=-0,07(-0,01).

Дисперсия колебаний на выходе САУ при отключенном регуляторе равна 2,25(%)2.

Печь спекания относиться к объектам первой группы, не допускающим резких колебаний по управляющему воздействию.


5.1.2 Определение временных настроек и модельных экспериментов

Временные настройки натурных и модельных экспериментов (дискретность измерения переходной характеристики и длительность наблюдения переходной характеристики) определяются постоянной времени и транспортным запаздыванием.

Дискретность измерения (моделирования) переходной характеристики должна удовлетворять следующим условиям:

  1. ;

  2. .

Длительность наблюдения переходной характеристики должна удовлетворять следующему условию:

.

Анализируя выше указанные условия, приходим к выводу, что:

  1. шаг моделирования переходной характеристики =0,45-3;

  2. длительность наблюдения переходной характеристики =105-1050.


5.1.3 Численный расчет разгонной характеристики


Дифференциальное уравнение для исследуемого канала управления имеет вид:

Оно же в форме Коши:

и в разностной форме:

Исходными данным для получения разгонной характеристики являются:

- ранее полученные результаты предварительной идентификации параметров канала управления (К=-0,07, Т=15 мин, τ=1 мин);

- выбранный шаг расчета и длительность эксперимента;

- анализ пределов наблюдаемых колебаний U, позволяющий задать величину скачка по входной величине


где t0 – момент начала скачка,

нулевые начальные условия по выходной величине

y(t0)=y(0)=y0=23,8

Расчеты выполнены в среде Excel:

п/п

T

dt

k

x

y

0

15

0,066

-0,07

59

23,8

1

15

0,066

-0,07

21

23,677

2

15

0,066

-0,07

21

23,566

3

15

0,066

-0,07

21

23,456

4

15

0,066

-0,07

21

23,347

5

15

0,066

-0,07

21

23,237

6

15

0,066

-0,07

21

23,329

7

15

0,066

-0,07

21

23,02

8

15

0,066

-0,07

21

22,913

9

15

0,066

-0,07

21

22,805


На рисунке 5.1.2 приведены результаты расчета – разгонная характеристика.


Рисунок 5.1.2 Разгонная характеристика


Ниже приведён пошаговый расчёт значений разгонной характеристики по формуле .

Начальные значения: при .

; ;

; ;

; ;

; ;

; ;

; ;

; ;

; ;

; ;

; .

5.1.4 Анализ переходных характеристик


Для анализа переходных характеристик могут быть использованы специализированные программы, созданные в той или иной программной среде.

На восьми фрагментах рисунка 5.1.3 показаны разгонные характеристики звена при разных сочетаниях средних, минимальных и максимальных значений K, T, и τ (исходя из процентных отклонений по условию задания). Их значения в указанной последовательности приведены на графиках.

Анализируя эти разгонные характеристики, мы видим, что коэффициент передачи не влияет на форму процесса, он лишь определяет уровень установившихся значений. А величины транспортного запаздывания и постоянной времени влияют на длительность переходного процесса.


5.1.5 Анализ амплитудно – частотной характеристики


На восьми фрагментах рисунка 5.1.4 построены АЧХ при разных сочетаниях значений параметров канала управления, аналогичных предыдущему сочетанию. Анализируя эти характеристики, можно сказать следующее. Коэффициент передачи, также как и в предыдущем случае, просто изменяет шкалу ординат АЧХ. Аналогично ему транспортное запаздывание также никак не влияет на АЧХ динамического канала. А чем больше постоянная времени, тем быстрее падает АЧХ, все лучше фильтруя низкочастотные колебания.

Первый фрагмент на рисунке 5.1.4 иллюстрирует АЧХ для средних параметров канала управления (K=-0,07, T=15 мин, τ=1). А на четырех фрагментах рисунка 5.1.5 приведены гармонические колебания в этом звене при трех разных частотах колебаний входного сигнала (значения указаны на графиках).

В математическом смысле АЧХ – это модуль частотной характеристики динамического звена, отображаемой комплексным числом. Физический же смысл трудно воспроизвести, если ее расчет ведется не частотными методами, а используя имитационную модель САУ.

Из проведенных же выше экспериментов становится очевиден физический смысл АЧХ, как функции отношения амплитуд гармонических колебаний на выходе системы к колебаниям на входе, аргументом функции служит круговая частота колебаний.

Исходя из результатов экспериментов, изображенных на рисунке 5.1.5, можно сделать вывод, что чем больше частота изменения управляющего воздействия, тем хуже динамические характеристики канала управления (управляемая величина не успевает реагировать на входное воздействие).


Kср

-0,07

Tср

15

ср

1

ср’

0,066


Kmin

-0,06

Tср

15

max

1,33

’

0,09

Kmin

-0,06

Tср

15

min

0,67

’

0,045

Kmin

-0,06

Tmax

19,05

ср

1

’

0,05

Kmin

-0,06

Tmin

10,95

ср

1

’

0,09


Kmax

-0,08

Tср

15

max

1,33

’

0,09


Kmax

-0,08

Tср

15

min

0,67

’

0,045

Kmax

-0,08

Tmax

19,05

ср

1

’

0,05

Kmax

-0,08

Tmin

10,95

ср

1

’

0,09


5.1.6 Построение экспериментальных АЧХ для канала управления при вариациях его параметров с помощью имитационной и частотной моделей


Первый фрагмент рисунка 5.1.6 иллюстрирует АЧХ для средних параметров канала управления К=-0,07, Т=15 минут, =1 минута. Последующие фрагменты отражают АЧХ в диапазоне колебаний параметров канала управления.


На трех графиках приведены гармонические колебания при трех разных частотах колебаний входного сигнала при средних значениях параметров канала управления:


П/п

ω

T

1 1,256

5

2 2,093

3

3 3,14

2


Анализируя полученные АЧХ можно сделать следующие выводы:

  1. очевиден физический смысл АЧХ, как функции отношения амплитуд гармонических колебаний на выходе системы к колебаниям на входе, аргументом функции служит круговая частота колебаний;

  2. Транспортное запаздывание никак не влияет на АЧХ динамического канала. Чем больше постоянная времени, тем быстрее падает АЧХ, все лучше фильтруя низкочастотные колебания. Коэффициент передачи просто изменяет шкалу ординат АЧХ.


5.2 Постановка задачи анализа и синтеза САУ

Масштабирование ее параметров САУ


5.2.1 Подготовка исходных данных


Исследуемая САУ на технологической установке описана в п. 5.1. В пункте 5.1.1 по экспериментальным данным идентифицирована структура и параметры канала управления. Этого исходного материала достаточно для определения параметров САУ в сфере инженерной постановке задачи.

Параметры канала управления:

(1)


5.2.2 Масштабирование параметров канала управления


В сфере математической постановке задачи используются нормированные параметры канала управления и ПИ-регулятора обратной связи: PКУ и PОС.

Обратная связь САУ разомкнута, поэтому требуются только параметры канала управления:

(2)

Среднее значение нормированной транспортного запаздывания :

(3)

Предельные значения нормированной транспортного запаздывания :

(4)

(5)

Нормированный внешний сигнал:

(6)


5.2.3 Анализ нормированных характеристик динамического звена


Численные эксперименты на имитационной и частотной моделях канала управления были проведены при трёх разных значениях нормированного транспортного запаздывания: , , . Результаты данных экспериментов представлены в графическом виде на рисунке 5.2.1.



Рисунок 5.2.1 Характеристики канала управления


Проверка масштабирования

Возьмем три точки на графиках разгонной характеристики и АЧХ в относительных единицах и проверим их совпадение на соответствующих графиках в абсолютных единицах. Масштабирующий множитель на шкале частот при переходе от нормированной АЧХ к абсолютной равен 1/Т. Масштабирующий множитель на шкале значений для АЧХ - abs(K). При умножении на коэффициенты масштабирования, видно, что их значения одни и те же.

Пересчет в абсолютных единицах для частоты производится по следующей формуле:

абс=отн*1/Т (7)


Для точки А: абс=отн *1/Т=0*1/15=0.

Для точки В: абс =отн *1/Т=2*1/15=0,13.

Для точки С: абс =отн*1/Т=5*1/15=0,33.


Пересчет в абсолютных единицах для амплитуды производится по следующей формуле:

Аабс=Аотн*1/Т (8)


Для точки А: Аабс=Аотн*К=1*0,07=0,07

Для точки В: Аабс=Аотн*К=0,45*0,07=0,032.

Для точки С: Аабс=Аотн*К=0,2*0,07=0,014.


В итоге получаем следующие точки с координатами:

А(0;0,07); В(0,13;0,032); С(0,33;0,014).


Для перехода к абсолютным выражениям используем следующие формулы:


tабс=tотн*Т (9)


У=У*К*Уотн (10)


Получаем для точки D


tабс =1*15=15 У =38*0,07*0,6=1,59


Учитывая тот факт, что аппроксимация экспериментальной разгонной характеристики для печи спекания изображена в трех осях, получаем:


Уабс=Унач+У=23,8+1,59=25,4.


По итогам вычислений получаем точку D с координатами (15;25,4).


Для точки Е получаем


tабс =2*15=30 У =38*0,07*0,82=2,18


Учитывая тот факт, что аппроксимация экспериментальной разгонной характеристики для печи спекания изображена в трех осях, получаем:


Уабс=Унач+У=23,8+2,18=25,9


По итогам вычислений получаем точку Е с координатами (30;25,9).


Точки Д и Е показаны на рисунке 5.9.


Рисунок 5.2.2 Результаты вычислений


Анализ временных и частотных характеристик динамического звена первого порядка с запаздыванием позволяет сделать следующие выводы:

  1. Нормированная АЧХ для звена первого порядка является постоянной функцией. Она не зависит от нормированного запаздывания ;

  2. Форма разгонной характеристики y(t) также является постоянной, если не считать транспортного запаздывания . Оно сдвигает на отрезок момент времени начала и момент окончания переходного процесса, не меняя его формы (крутизны экспоненты);

  3. Эксперименты на численных моделях позволили определить рациональные начальные значения их настроек для разомкнутой САУ. Для звена первого порядка () рационально взять ;

  4. Нормирование делает прозрачным механизм влияния внешних параметров динамического звена на его характеристики. Так постоянная времени Т просто растягивает в Т раз по отношению к Т=1 разгонную характеристику и сжимает частотную. Коэффициент усиления К увеличивает в К раз единицу шкалы ординат на разгонной и частотной характеристиках. Равное действие имеет скачок по входу u для разгонной характеристики.


5.3 Частотное моделирование САУ


5.3.1 Моделирование случайных процессов


Используется четыре (j=1,2,3,4) случайные величины (Х1,Х2,Х3,Х4). Были заданы определенные настройки алгоритма, которые приведены в таблице 5.3.1.

Таблица 5.3.1


Вр.спада

Период колеб-й гарм.составл-х

Коэффициент усиления


Т0

Т1

Т2

Т3

Q0

Q1

Q2

Q3

Qg

Условные пределы



i=0

i=1

i=2

i=3

i=0

i=1

i=2

i=3

min

max

X1

0.1

0.3

1

4

1

1

1

1

0.5

0

50

X2

0.1

0.3

1

4

1

1

1

1

0.5

0

30

X3

0.1

0.3

1

4

0.3

0.5

0.6

0.2

0.3

0

50

X4

0.5

0.8

1.5

3

1

1

1

1

0.5

0

50

По полученным реализациям были определены статистики величин ХJ, j=1,2,3,4: среднее значение, дисперсия, СКВО, автокорреляционная функция, время ее спада и функция спектральной плотности. Они показаны на рисунках 5.3.1, 5.3.2 и 5.3.3.



Рисунок 5.3.1 Временные реализации четырех величин


В таблице 5.3.2 приведены расчеты статистик, которые были получены в Excel.


Таблица 5.3.2


x1

x2

x3

x4

Среднее

24.33897

15.37535

24.71362

24.35974

Дисперсия

1003.482

415.6583

89.16182

936.6768

Сумма

12169.49

7687.673

12356.81

12179.87

СКВО

31.67779

20.3877

9.442554

30.60518


Рисунок 5.3.2 Автокорреляционные функции четырех величин


Сравнивая временные реализации величин по их внешнему виду и их статистики по численным значениям, видно следующее:

  • Х2 отличается от всех остальных своим уровнем, ее среднее значение 30, тогда как у остальных - в пределах 40-50;

  • Х3 имеет самую маленькую мощность колебаний , ее дисперсия равна 144, тогда как у остальных больше (600 ед.)2, соответственно ее СКВО -12, а у остальных – от 25 до 35 ед.;

  • Х4 является самой медленно изменяющейся величиной, это видно по времени спада автокорреляционной функции (у Х4 –0,5 о.е. времени, у остальных трех величин – 0,1);

  • Низкочастотность Х4 также иллюстрирует функция спектральной плотности, в области низких частот сосредоточена основная часть мощности ее колебаний по сравнению с Х1-Х3.

Рисунок 5.3.3 Функции спектральной плотности


5.3.2 Определение физического смысла функции спектральной плотности

Для этого смоделируем случайный процесс X1, таким образом, чтобы две из трёх его гармонических составляющих имели относительно высокую амплитуду. Настройки случайного процесса приведены в таблице 4. А полученные графики автокорреляционной функции и функции спектральной плотности величины X1 на рисунке 5.3.4

Таблица 5.3.3


Время спада Период колебаний гарм.составляющих

Коэффициент

усиления

Условные

пределы

Т0

Т1

Т2

Т3

Q0

Q1

Q2

Q3

Qg
i=0 i=1 i=2 i=3 i=0 i=1 i=2 i=3 Min max
X1 0,2 0,4 0,3 3,14 0,8 1 6 6 0,5 0 50

Таблица 5.3.4


Среднее Дисперсия Сумма СКВО
X1 31,193 22884,99 15596,55 151,27

Рисунок 5.3.4 . Автокорреляционная функция и функция спектральной плотности величины X1

Таким образом, полученный график спектральной плотности величины X1 иллюстрирует два всплеска, которые объясняются на основе исходных данных. Согласно им две из трёх гармоник имеют существенно более высокую амплитуду, а, следовательно, и мощность колебаний. Переведя их периоды колебаний в частоту, получаем те самые всплески:

рад/о.е.; рад/о.е.


3.3 Идентификация параметров случайного процесса


Возьмем в качестве исходной сгенерированную выше величину Х1, назовем ее Z и смоделируем еще три ее реализации. Допустим, что эти реализации получены с помощью измерительного прибора в разные моменты времени. Они отличаются от первой тем, что их временные параметры были изменены случайным образом от до . Значения параметров алгоритма формирования четырех реализаций Z приведены в таблице 5.3.5, а сами реализации - на рисунке 5.3.5.


Таблица 5.3.5


Вр.спада

Период колеб-й гарм.составл-х

Коэффициент усиления


Т0

Т1

Т2

Т3

Q0

Q1

Q2

Q3

Qg

Условные пределы



i=0

i=1

i=2

i=3

i=0

I=1

i=2

i=3

min

max

X1

0,1

0,3

1

4

1

1

1

1

0,5

0

50

X2

1,03

0,27

0,8

3,6

1,1

0,85

1,1

0,7

0,65

0

30

X3

0,08

0,36

0,75

5,2

1,3

0,8

0,9

1,1

0,45

0

50

X4

0,115

0,33

0,9

4,4

0,85

1,3

0,75

0,8

0,55

0

50


Рисунок 5.3.5 Четыре реализации величины Z

Рисунок 5.3.6 Автокорреляционные функции четырех реализаций Z


Были рассчитаны статистики этих величин. Средние значения (Zср), дисперсии (Dz) и СКВО показаны на фрагментах этого рисунка. Автокорреляционная функция и время спада ее экспоненциальной аппроксимации - на рисунке 5.3.6, а функция спектральной плотности - 5.3.7.

Этот материал позволяет увидеть средние значения статистик величины Z и ее дрейф. Получаем:

Zср=41,5±7 ед.;

Dz=975±300(ед)2;

СКВО=30,5±7 ед.;

Tz,сп=0,3±0,4.

В таблицах 5.3.4 и 5.3.5 приведены расчеты статистик, которые были получены в Excel.


Таблица 5.3.4


x1

X2

x3

x4

Среднее

24,33897

16,16241

24,33043

25,21387

Дисперсия

1003,482

459,9968

1080,297

1223,786

Сумма

12169,49

8081,207

12165,22

12606,93

СКВО

31,67779

21,44754

32,86787

34,98265


Таблица 5.3.5


Время спада

Расч.множитель

x1

0,1

0,6

x2

1,03

0,961165049

x3

0,08

0,5

x4

0,115

0,652173913


Анализ функций спектральной плотности показывает, что смоделированные гармонические составляющие колебаний Z не всегда проявляются, порой их "забивают" случайные шумы.


5.3.4 Расчет дисперсии и спектра величины на выходе САУ

Рисунок 5.3.7 Функции спектральной плотности реализаций Z


Освоив математический аппарата частотного моделирования, попробуем рассчитать дисперсию и спектр на выходе системы автоматической стабилизации плотности шлама, разгружаемого из гидростатического отстойника. На входе САУ действует целый комплекс возмущающих воздействий. При этом на выходе САУ наблюдается приведенное возмущение:

u  0, z = y.

Для расчета спектра выходной величины обратимся к модели апериодического звена первого порядка с запаздыванием.

Задаём нормированный параметр канала управления:

’ = /T = 1мин./15мин.= 0.066 у.е.вр.

В САУ время нормируется по постоянной T канала управления.

Задаем нормированные параметры входа САУ:

D’z = 1, T’СП = 10 у.е.

Этим мы определяем область фильтрации приведенного возмущения:

TСП = T’СПT = 10у.е.15мин. = 150мин,

T12 = TСП / T10 = 150мин. / 0,3о.е. = 500мин.

Грубо рассматриваемая САУ может полноценно фильтровать коррелированные шумы со временем спада в четверть часа и закономерные составляющие с периодом появления 4 часа.

Нормированные параметры регулятора устанавливаем по подсказке преподавателя:

K’Р = 1, K’I = 0,5.

Рассчитываем с помощью специализированной программы частотные характеристики САУ. Функция спектральной плотности входной и выходной величины САУ показаны на рис. 5.3.8.


Рисунок 5.3.8 Функции спектральной плотности на входе и выходе САУ


Нормированная выходная дисперсия равна 0,101793 (D’y=0,101793), что означает снижение входной дисперсии в 9,8 раз.

Определим теперь степень снижения диапазона колебаний стабилизируемой величины y после подключения САУ:

0,32

Чтобы рассчитать абсолютное СКВО, требуется знать дисперсию шума, подаваемого на вход САУ. Для этого на практике выбирают отрезок времени, в течение которого регулятор был отключен, и изучают колебания выходной величины. В нашем случае дисперсия колебаний Y равна 0,0009 (т/м3)2, СКВО равно 0,3 т/м3.

Абсолютное СКВО рассчитываем по формуле:

0,0095 т/м3.

4 СКВО дают наиболее вероятный диапазон колебаний стабилизируемой величины y в абсолютных единицах:

Дy = 4y = 40,0095 = 0,038 т/м3.


Анализируя этот материал, мы можем сделать следующие выводы:

  • Расчетные статистики выгодно использовать для сопоставительного анализа неслучайных свойств изменяющихся во времени величин или одной и той же величин, но в разные моменты ее "жизни",

  • Средний уровень изменений Х(t) фиксирует статистическая оценка Хср;

  • Оценкой скорости колебаний может служить время спада автокорреляционной функции, чем она больше, тем медленнее в среднем колеблется Х(t);

  • Анализ спектра колебаний позволяет дополнительно увидеть, на каких частотах преимущественно сосредоточена мощность колебаний Х(t).


5.4 Устойчивость САУ. Классы требований к качеству управления


5.4.1 Формулирование требований к САУ


Рассматривается система автоматического регулирования подачи топлива в печь спекания. Для спекания шихты на глиноземных заводах используются трубчатые вращающиеся печи. С одной стороны в печь поступает топливо – угольная пыль в смеси с воздухом. С другой стороны в печь подается сырье – и выводятся газы. Получаемый продукт – спек – из печей подается на участок дробления.

Нормальная работа печи спекания характеризуется определенной концентрацией кислорода в отходящих газах, по которой косвенно оценивают количество сгораемого топлива. Чем больше топлива сгорает в печи, тем меньше становится концентрация кислорода в отходящих газах.

Если концентрация по показаниям прибора превышает задание, необходимо увеличить подачу топлива в печь, повышая частоту вращения привода.

Система автоматического регулирования подачи топлива в печь спекания относится к тем САУ, для которых не важно наличие небольшой статической ошибки регулирования. Поэтому относим эту системы к классу "В" (классификация САУ по статическим свойствам).

Итак, формализовались требования к САУ в рамках описанной классификации: устойчивость, класс "В", группа II.


5.4.2 Выбор области работы САУ


Канал управления в нашей системе идентифицирован как звено первого порядка с запаздыванием: S=1. Нами определено среднее значение нормированного транспортного запаздывания: '=0,066. Ориентируясь на желание минимизации дисперсии и длительности переходных процессов, наиболее приемлемой считаем рабочий район поиска настроек:

K'P - от 2 до 4, K'I - от 1 до 2 (назовем этот район базовым).

Ниже приведены годографы Найквиста для трех точек, выбранных на графике области устойчивости в пространстве для систем типа S=1.



Анализируя графики, делаем вывод, что система наиболее устойчива при значениях коэффициентов Кр = 2,1 и KI=0,7 (т.е. третий график).

Проделаем то же самое для трех точек, выбранных на графике области работы САУ, при S=1 и ' = 0,066.

Для нашей системы типа II класса В значения коэффициентов:

K'P - от 10 до 12, K'I - от 2 до 4.

В этих пределах система не устойчива (ниже приведен годограф Найквиста при значениях K'P =10, K'I = 2).



Рассмотрим поведение системы при изменении оптимального значения коэффициента KI в диапазоне 30%.

При KI=0,5 получаем графики:


При KI=0,9 получаем графики:



  1. Используя критерий Найквиста, определили область устойчивости нашей системы и оптимальные значения коэффициентов. Выбрали этот критерий, потому что он позволяет легко определить, устойчива система или нет с помощью годографа.

  2. Определили, что хотя система и относится ко второму типу, при выбранных трех точках значений коэффициентов, она не устойчива в этих пределах.


Заключение

В данном курсовом проекте, в соответствии с поставленной задачей управления, была предложена модернизация системы управления котлоагрегатом.

Была разработана функциональная схема котлоагрегата и произведен выбор полевой автоматики.

В качестве технической базы спроектированной системы автоматизации был предложен регулирующий микропроцессорный контроллер GE Fanuc и персональная ЭВМ. Преимуществом модернизированной системы является более точная реализация процесса регулирования, основанная на цифровой обработке информации.

Использование ПЭВМ со SCADA-пакетом CYMPLICITY даёт большие возможности для представления информации человеку, функцией которого является многокритериальное управление котлоагрегатом.

Результат применения предлагаемой модернизации состоит в стабилизации параметров технологического процесса, за счёт увеличения объёма и качества обработки информации, позволяющей технологическому персоналу принимать своевременные и оптимальные решения при внештатных ситуациях.


СПИСОК ИСПОЛЬЗУЕМОЙ ЛИТЕРАТУРЫ:


  1. М.И. Резников, Ю.М. Липов «Паровые котлы тепловых электростанций»

  2. Н.А. Киселев «Промышленные котельные установки»

  3. «Эксплуатация паровых котлов и паротрубопроводов» под ред. Божко

  4. Н.И Еремин, А.Н Наумчик, В.Г Казаков «Процессы и аппараты глиноземного производства»

  5. Н.А. Киселев «Устройство и эксплуатация котлов»

  6. В.М. Максимов «Котельные агрегаты большой паропроизводительности»

  7. В.Г. Александров «Паровые котлы средней и малой мощности»

  8. «Теплотехника» под редакцией А.П. Баскакова

  9. С.Я. Белинский «Теплофикация и теплоэлектроцентрали»

  10. «Учет и контроль расхода энергоносителей и тепловой энергии» под редакцией В.С. Кахановича

  11. «Основы автоматизации для металлургов» под редакцией И.А. Грязновой

  12. Н.Я. Турчин «Инженерное оборудование тепловых электростанций и монтажные работы»

  13. А.С. Клюев, А.Т. Лебедев, С.И.Новиков «Наладка систем автоматического регулирования барабанных паровых котлов»

  14. Н.Н.Лариков «Теплотехника»

  15. «Справочник эксплуатационника газовых котельных»

  16. П.Н.Мануйлов «Теплотехнические измерения и автоматизация тепловых процессов»

  17. В.С.Чистяков «Краткий справочник по теплотехническим измерениям»

  18. В.С.Вергазов «Устройство и эксплуатация котлов». Справочник.

  19. А.М., В.А.,П.Г.Удыма «Проектирование, монтаж и эксплуатация тепломассообменных установок»

  20. Д.Н. Кемельман, Н.Б.Эскин «Наладка котельных установок». Справочник.

  21. Р.Беккер «Теория теплоты».



    1. Инженерный синтез основной системы регулирования


Любая система регулирования должна поддерживать регулируемую величину с наименьшими отклонениями от заданного значения. На практике чаще всего требуемая точность работы может быть достигнута за счет повышения чувствительности регулятора к отклонениям регулируемой величины. Однако это может привести к возникновению колебаний в замкнутой системе автоматического регулирования и потере устойчивости. В связи с этим обеспечивание устойчивости при всех встречающихся на практике режимах работы объекта автоматизации (для данной курсовой работы = это автоматизации котлоагрегата) является первоочередной задачей проектирования, наладки и эксплуатации систем регулирования.

Имеется котлоагрегат (ОУ). Вода, проходя через котлоагрегат, нагревается паром с регулируемым расходом. Необходимо синтезировать робастную систему автоматического регулирования температуры воды на выходе котлоагрегата. Управляемой величиной Y будет температура воды на выходе, а управляющим воздействием U – расход пара на котлоагрегат (процент открытия клапана на трубопроводе пара).

Исходные данные:

U=1

Y= 1+0.01*n=1+0.01*22=1.22, где n – номер варианта

Транспортное запаздывание:

=2+n/4=2+22/4=7.5

Постоянная времени

T=10+n/4=10+22/4=15.5

Программный пакет Р2_0 имитирует работу одноконтурной линейной САР. Канал ОУ в нем задан инерционным звеном первого порядка



Рис.1 Структурная схема одноконтурной линейной системы автоматического регулирования стабилизации с ПИ – регулятором.


XY – приведенное возмущение; YZ – заданное значение; X1 – контролируемое значение;

X2 – шумы в канале возмущения; X3 – шумы в канале управления.


Блоки 1…4 – блоки формирования воздействий XY, X1, X2, X3 можно задать с помощью меандра или синусоиды, их параметры – амплитуда и полупериод колебаний.

Блок 5 – блок формирования YZ (задание).

Блок 6 – компенсатор возмущения (KB) Х1 - пропорциональное звено, если равно 0, то KB не работает.

Блок 7- канал управления - инерционное звено первого порядка, описывается тремя параметрами:

K1- коэффициент усиления;

T1- постоянная времени;

R1 - транспортное запаздывание.

Блок 8- канал передачи возмущения X1 - инерционное звено первого порядка.

Параметры: K2, T2, R2.

Блок 9- измеритель величины.

Параметры: К3, Т3, R3. Если T2=R2, то непрерывное автоматическое измерение.

Блок 10- ПИД-регулятор. Передаточная функция: - K0 (1+L0/p+ R0*р).

K0- коэффициент усиления;

L0- постоянная интегрирования;

R0 - постоянная дифференцирования.


      1. Анализ реакций нерегулируемого объекта управления на типовые воздействия.

Строим график переходного процесса (рис.2) при подаче на вход ОУ – меандра. Для этого задаем входное воздействие с помощью звена X3. При этом обнуляем приведенное возмущение ХУ и отключаем ПИ – регулятор.

Рис.2 Переходной процесс при подаче на вход - меандра

Строим график переходного процесса при подаче на вход ОУ – синусоиды. Входное воздействие задаем с помощью звена X3, и обнуляем приведенное возмущение ХУ и отключаем ПИ – регулятор.

Рис.3 Переходной процесс при подаче на вход – синусоиды


    1. Строим (рис.4) амплитудно-частотную характеристику (АЧХ) ОУ (инерционного звена первого порядка). Для этого подаем на вход ОУ синусоидальное воздействие. С помощью изменения полупериода находим значения амплитуды по графику. Делаем несколько замеров, и строим АЧХ. На графике (рис.4) показана зависимость частоты от амплитуды.

Частота 0,05 0,025 0,016 0,0125 0,01 0,0083 0,0071
Амплитуда 0,36 0,56 0,76 0,8 0,9 1 1,1

Рис.4 Амплитудно-частотная характеристика


Настройка ПИ – регулятора на наилучшее качество переходного процесса


Для базового объекта, характеризующегося пятью заданными параметрами – K1, R1, T1, Т3, R3 выполняем настройку ПИ – регулятора. Для этого подбираем K0, L0, R0 (табл.1) и настраиваем систему на наилучшее качество переходного процесса.

Таблица 1

К1 Т1 R1 T3 R3 K0 L0 R0

Tрег.

Gпер Kзат. Tсоб. Vсоб.
1 1,22 15,5 7,5 0 0 0,885 0,105 0 69 20 2,5 58 0,04
2 1,22 15,5 7,5 0 0 0,895 0,095 0 71 16 4 48 0,055
3 1,22 15,5 7,5 0 0 0,905 0,075 0 47 8 2,6 47 0,056
4 1,22 15,5 7,5 0 0 0,937 0,0665 0 43 7,5 - - -

5

1,22

15,5

7,5

0

0

0,817

0,056

0

27

-

-

-

-


Tрег - время регулирования (мин.);

Gпер – перерегулирование, % (Gпер = в);

Kзат – коэффициент затухания, Kзат=в/а;

Tсоб – период собственных колебаний, мин.;

Vсоб. – частота собственных колебаний, Vсоб =2/ Tсоб.

Вывод:


Синтез робастной САР, учитывающий дрейф и неточные знания параметров ОУ


Анализируем 2 варианта K1, T1, R1 при определенных наилучших настройках ПИ регулятора, результаты заносим в таблицу (табл.2)

первый вариант - условно благоприятный объект - параметры объекта управления на 30% ниже номинала;

второй вариант – условно неблагоприятный объект – параметры объекта управления на 30% выше номинала.

Таблица 2

K1 T1 R1 T3 R3 K0 L0 R0 Tрег Gпер Kзат. Tсоб. Vсоб

1

0,854

10,85

5,25

0

0

0,817

0,056

0

72

16

4

60

0,1

2 1,586 20,15 9,75 0 0 0,817 0,056 0 74 - - - -



рефераты скачать
НОВОСТИ рефераты скачать
рефераты скачать
ВХОД рефераты скачать
Логин:
Пароль:
регистрация
забыли пароль?

рефераты скачать    
рефераты скачать
ТЕГИ рефераты скачать

Рефераты бесплатно, реферат бесплатно, рефераты на тему, сочинения, курсовые работы, реферат, доклады, рефераты, рефераты скачать, курсовые, дипломы, научные работы и многое другое.


Copyright © 2012 г.
При использовании материалов - ссылка на сайт обязательна.