рефераты скачать
 
Главная | Карта сайта
рефераты скачать
РАЗДЕЛЫ

рефераты скачать
ПАРТНЕРЫ

рефераты скачать
АЛФАВИТ
... А Б В Г Д Е Ж З И К Л М Н О П Р С Т У Ф Х Ц Ч Ш Щ Э Ю Я

рефераты скачать
ПОИСК
Введите фамилию автора:


Реферат: Крнтрольно-измерительные приборы (линейка,штангенциркуль)

Реферат: Крнтрольно-измерительные приборы (линейка,штангенциркуль)

«Наука начинается с тех пор, как начинают измерять»

Д. И. Менделеев


Измерительная техника является неотъемлемой частью материального производства. Без системы измерений, позволяющей контролировать тех­нологические процессы, оценивать свойства и каче­ство продукции, не может существовать ни одна область техники

Совершенствование методов средств и измерений происходит непрерывно. Их успешное освоение и ис­пользование на производстве требует глубоких зна­ний основ технических измерений, знакомства с со­временными образцами измерительных приборов и инструментов.

Средства измерений технические средства, ис­пользуемые при измерениях и имеющие нормирован­ные метрологические свойства. Средства измерений делят на меры и измерительные приборы.

Мера средство измерений, предназначенное для воспроизведения физической величины заданного раз­мера, например концевая мера длины, гиря — мера массы. Однозначная мера воспроизводит физическую величину одного размера (например, концевая мера длины), а многозначная мера—ряд одноименных ве­личин различного размера (например, штриховая ме­ра длины и многогранная призма). Специально подо­бранный комплект мер, применяемых не только в отдельности, но и в различных сочетаниях с целью воспроизведения ряда одноименных величин различного размера, называется набором мер (например, наборы плоскопараллельных концевых мер длины и наборы угловых мер).

Измерительные приборысредства измерений, предназначенные для выработки сигнала измеритель­ной информации в форме, доступной для непосредст­венного восприятия наблюдателем. По характеру по­казаний измерительные приборы делят на аналого­вые, цифровые, показывающие, регистрирующие, самопишущие и печатающие, а по принципу дей­ствия — на приборы прямого действия, приборы срав­нения, интегрирующие и суммирующие приборы. Для линейных и угловых измерений широко исполь­зуются показывающие приборы прямого действия, допускающие только отсчет показаний.

По назначению измерительные приборы делят на универсальные - предназначенные для измерения од­ноименных физических величин различных изделий, и специализированные - служащие для измерения отдельных видов изделий (например, размеров зубчатых колес) или отдельных параметров изделий (например, шероховатости, отклонений формы по­верхностей).

По конструкции универсальные приборы для линейных измерений делят на:

  1. штриховые приборы, снабженные нониусом (штангенинструменты);

  2. приборы, основанные на применении микрометрических /винтовых пар (микрометрические инструменты);

3) рычажно-механические приборы, которые по типу механизма подразделяют на рычажные (миниметры), зубчатые (индикаторы часового типа), рычажно-зубчатые (индикаторы или микромеры), пружинные ; (микрокаторы и микаторы) и рычажно-пружинные (миникаторы); 4) оптико-механические (оптиметры, оптикаторы, контактные интерферометры, длиномеры, измерительные машины, измерительные микроскопы, проекторы).

По установившейся терминологии простейшие из­мерительные приборы — штангенциркули, микромет­ры называют измерительным инструментом.

Для специальных линейных и угловых измерений в машиностроении также широко применяют измери­тельные приборы, основанные на других принципах работы, пневматические, электрические, оптико-ме­ханические с использованием лазерных источников света.

Для выполнения операций контроля в машиностроении широко используются калибры, которые представляют собой тела или устройства, предназна­ченные для проверки соответствия размеров изделий или их конфигурации установленным допускам. К ним относятся гладкие предельные калибры (пробки и скобы), резьбовые калибры, шаблоны и т.д.

Рассмотрим подробнее следующие измерительные приборы

1) Штангенциркули предназначены для измерения наружных и внутренних размеров изделий. Они вы­пускаются четырех типов: ШЦ—I (рис. а);

ШЦТ—I (ШЦ—1 без верхних губок и с нижними губ­ками, оснащенными твердым сплавом); ШЦ—II (рис. б) и ШЦ—111 (ШЦ—П без верхних губок). Основные части штангенциркулей: штанга 1, изме­рительные губки 2, рамка 3, зажим рамки 4, нониус 5, глубомерная линейка 6 и микрометрическая пода­ча 7 для установки на точный размер. При измере­ниях наружной стороной губок штангенциркулей ШЦ—II размер Ь = 10 мм прибавля-

ется к отчету.

2) Микрометры гладкие типа МК. предназначены для измерения наружных размеров изделий. Основные узлы микрометра (рис.2а): скоба /, пятка 2 и микрометрическая головка 4 — отсчетное устройство, 'основанное на применении винтовой пары, которая преобразует вращательное движение микровинта в поступательное движение подвижной измерительной пятки. Пределы измерений микрометров зависят от размера скобы и составляют 0—25; 25—50; ...; 275— 300, 300—400; 400—500 и 500—600 мм.

Микрометры для размеров более 300 мм оснаще­ны сменными (рис. 26) или переставными (рис. 2в) пятками, обеспечивающими диапазон измерений 100 мм. Переставные пятки крепятся в требуемом положении фиксатором 5, а сменные пятки — гайка­ми 6.

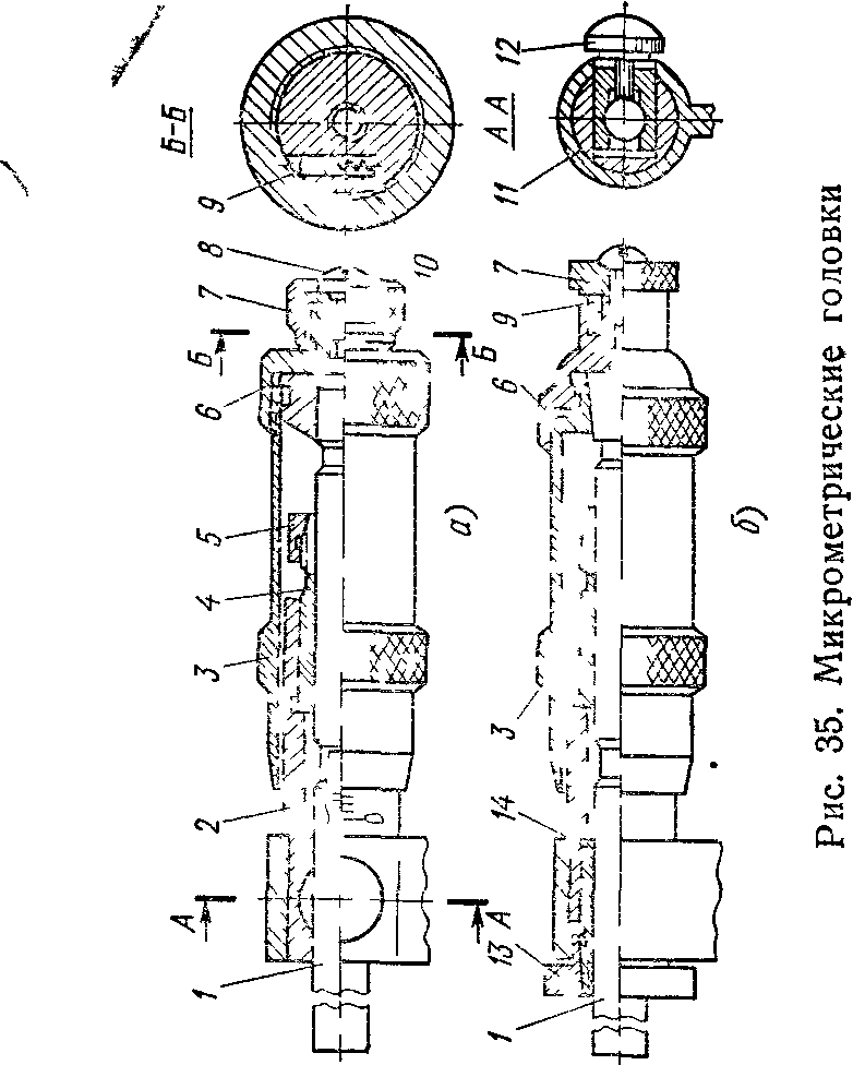
На рис. 1а показана микрометрическая головка, которой оснащают микрометры с верхним пределом измерений до 100 мм. Микрометрический винт / про­ходит через гладкое направляющее отверстие стебля 2 и ввинчивается в разрезную микрогайку 4, которая стягивается регулирующей гайкой 5 так, чтобы уст­ранить зазоры в винтовой паре. На микровинте уста­новочным колпачком 6 закреплен барабан 3. Палец 9, помещенный в глухое отверстие колпачка, прижима­ется пружиной 10 к зубчатой поверхности трещетки 7, которая крепится на колпачке винтом 8. При вра­щении трещетка передает микровинту через палец крутящий момент, обеспечивающий заданное измери­тельное усилие 5—9 Н. Если измерительное усилие больше, то трещетка проворачивается с характерны­ми щелчками. Винт 12 ввинчивается во втулку 11 и фиксирует микровинт в требуемом положении.Микрометрические головки микрометров с нижним пределом измерений свыше 100 мм имеют несколько отличное устройство (рис. 2б). Микровинт / сто­порится гайкой 13, которая зажимает разрезную втул­ку 14. Барабан 3 затягивается установочным колпач­ком 6 на конусную поверхность микровинта. Палец 9 прижимается к торцовой зубчатой поверхности трещетки 7.

Микрометрические головки имеют шаг резьбы Р= 0,5 мм и длину резьбы 25 мм. При перемещении микровинта на шаг Р барабан совершает один обо­рот. На стебле микровинта нанесена шкала с деле­ниями, равными шагу микровинта, и продольный отсчетный штрих. Для удобства отсчета четные и не' четные штрихи шкалы нанесены по разные стороны продольного штриха. На коническом срезе барабана нанесена круговая шкала с числом делении n = 50. Цена деления круговой шкалы микрометра с =Р/n = 0,5/50 = 0,01 мм, цена деления основной шкалы а = Р = 0,5 мм Диапазон показаний микро­метрической головки равен 25 мм

Перед измерением микрометры устанавливают в исходное (нулевое) положение, при котором пятка и микровинт прижаты друг к другу или поверхностям установочных мер 3 (см. рис 2а) под действием усилия, обеспечиваемого трещеткой. При правильной установке нулевой штрих круговой шкалы барабана должен совпадать с продольным штрихом на стебле.

Порядок установки микрометров на нуль. а) за­крепляют микровинт стопором, б) отворачивают уста­новочный колпачок на пол-оборота; в) барабан пово­рачивают относительно микровинта до совпадения нулевого штриха барабана с продольным штрихом на стебле; г) барабан закрепляют колпачком; д) ос­вобождают микровинт и снова проверяют нулевую установку и т. д.

При измерении изделие помещают без переноса между пяткой и микровинтом и вращают трещетку до тех пор, пока она не станет проворачиваться. Бли­жайший штрих к краю барабана определяет число делений шкалы, заключающееся в измеряемом раз­мере. К отсчету по основной шкале прибавляют от­счет по круговой шкале, равный произведению цены деления с = 0,01 мм на номер деления, который нахо­дится напротив продольного штриха на стебле. На рис. 2а отсчет равен 14,18 мм.

  1. измерительные головки - относятся к рычажно-механическим

приборам применяются для измерения размеров, а также отклонений от заданной геометрической формы. Зубчатые измерительные головки - индикаторы часовые с ценой деления 0,01 мм — изготовляются следующих основных типов:

а) ИЧ-2, ИЧ-5 и ИЧ-10—с перемещением изме­рительного стержня параллельно шкале и пределами измерений 0—2, 0—5 и 0—10 мм соответственно;

б) ИТ-2 — с перемещением стержня перпендику­лярно шкале и пределами измерений 0—2 мм.

Индикаторы типа ИЧ-5 и ИЧ-10 выпускаются с корпусом диаметра 60 мм, а индикаторы ИЧ-2 и ИТ-2 — с корпусом диаметра 42 мм (малогабарит­ные) .

Устройство и принципиальная схема нормального индикатора типа ИЧ показаны на рис. 3. Основны­ми узлами индикатора являются циферблат 1 со шка­лой, ободок 2, стрелка 3, указатель числа оборо­тов стрелки 4, гильза 5, измерительный стержень 6 с наконечником 7, корпус 8, ушко 9 и головка стерж­ня 10 (рис. 3, а). Гильза и ушко служат для крепле­ния индикатора на стойках, штативах и приспособле­ниях. Поворотом ободка 2, на котором закреплен циферблат, стрелку совмещают с любым делением шкалы. За головку 10 стержень отводят при установ­ке изделия под измерительный наконечник.

Принцип действия идикатора состоит в следующем (рис. 3, б). Измерительный стержень 6 перемещается в точных направляющих втулках 18, запрессованных в гильзы корпуса. На стержне нарезана зубчатая рей­ка 11, которая поворачивает триб 12 с числом зубьев z =16. Трибом в приборостроении называют зубча­тое колесо с числом зубьев меньше или равным 18. Зубчатое коле­со 13 (z =100), установленное на одной оси с трибом 12, передает вращение трибу 14 (z = 10). На оси триба 14 закреплена стрелка 3. В зацеплении с трибом 14 находится также зубчатое колесо 15 (z=100), на оси которого закреплены указатель 4 и втулка 16 с пружинным волоском 17, другой конец которого прикреплен к корпусу. Колесо 15, находясь под дей­ствием волоска, обеспечивает работу всей передачи прибора на одной стороне профиля зуба и тем самым устраняет мертвый ход передачи. Пружина 19 создает измерительное усилие на стержне. Передаточное отношение зубчатого механизма под­бирают таким образом, чтобы при перемещении изме­рительного стержня на расстояние L = 1 мм стрелка совершала полный оборот, а указатель поворачивался 'на одно деление. Шкала индикатора имеет число де­лений n=100. Цена деления шкалы циферблата c =l/n= /100=0,01 мм. В корпусе малогабаритных индикаторов нельзя разместить полные зубчатые колеса с числом зубьев z = 100, поэтому их заменили зубчатыми секторами. У торцевых индикаторов ИТ-2 (рис. 5) перемещение измерительного стержня передается рейке зубчатого механизма через двухплечий рычаг, имеющий пере­даточное отношение, равное единице. Это обеспечи­вает цену деления 0,01 мм. Обозначения на рис. 3 и 4 одинаковые.

Индикаторы часового типа выпускаются двух классов точности: 0 и 1.

Измерительные головки устанавливают на стойках или штативах, которые показаны на рис. 5. Тип выбираемой стойки и шта­тива определяется ценой деления головки: C-I— до 0,5 мкм (рис. 5, а), C-II—от 1 до 5 мкм (рис. 5, б), C-III и Ш-I—от I до 10 мкм (рис. 5, в, д), C-IV и Ш-II— 10 мкм и выше (рис. 5, г, е). Штативы приме­няют при измерениях на поверочных плитах, в цент­рах и на станках.

При измерениях индикаторами часового типа ис­пользуют стойки типа C-IV и Ш-II (см. рис. 5). На­стройку индикаторов на размер при относительных измерениях осуществляют в определенном порядке.

1. Закрепляют индикатор на стержне стойки или в державке штатива зажимным винтом.

2. На стол стойки или плиту под измерительным наконечником индикатора помещают блок концевых мер, размер которого равен номинальному размеру изделия.

3. Опускают индикатор по колонке так, чтобы на­конечник соприкоснулся с поверхностью меры и стрел­ка отклонилась от нулевого положения. Предвари­тельное отклонение стрелки называют «натягом прибора». Значение натяга должно быть больше, чем допускаемые отклонения размера изделия от номи­нального значения. Обычно дают стрелке сделать один оборот. При работе с универсальным штативом для создания натяга пользуются винтом микроподачи.

4. Зафиксировав положение индикатора, шкалу устанавливают на нулевое положение, поворачивая ободок.

5. Поднимая и опуская измерительный стержень за головку, проверяют постоянство показаний инди­катора. Если наблюдается отклонение стрелки от ну­ля, настройку повторяют.

6. Отведя стержень, снимают блок мер.

При измерении меру заменяют изделием, и нако­нечник опускают на его поверхность. Отсчет по шкале индикатора показывает отклонение размера изделия от размера меры в сотых долях миллиметра. При абсолютных измерениях, порядок настройки тот же. Ба­зой для настройки служит поверхность предметного стола стойки или поверочной плиты. По указателю определяют число миллиметров в размере.

Область применения индикаторов расширяется бла­годаря использованию приспособлений. Струбцина для установки на валы (рис. 6,а) имеет скобу 3 с губкой 2, которая перемещается винтом 1. К струбци­не привинчивается стержень 4 с хомутом 5 для крепления державки 6 с индикатором 7. Прямой (рис. 6, б) и угловой (рис. 6, б) рычаги применяют при измерениях в труднодоступных местах. Рычаги 9 под действием измерительного стержня 12 индикатора поворачиваются вокруг оси 10 кронштейнов 11, прикрепленных к гильзе индикатора, и упираются сфери­ческими наконечниками 8 в поверхность изделия.

4)Оптико-механические приборы (оптиметры, оптикаторы, контактные интерферометры, длиномеры, из­мерительные машины, микроскопы и проекторы) пред­назначены для высокоточных измерений размеров и отклонений геометрической формы изделий дифференциальным методом. Конструк­тивно они представляют собой измерительные трубки (голов­ки), устанавливаемые на стой­ках. В измерительном меха­низме трубок оптиметров и оптикаторов сочетаются механи­ческий и оптический рычаги, поэтому такие приборы ино­гда называют рычажно-оптическими.

Принцип действия оптиче­ского рычага показан на рисунке


зеркало 1 падает луч света 2 и отражает­ся на шкалу прибора 3. Если зеркало наклонить на угол а, то отраженный луч сместится по шкале на ве­личину I, пропорциональную расстоянию L шкалы от зеркала: I = 2aL. Механический рычаг связывает из­мерительный стержень прибора с поворачивающимся зеркалом. Оптическая система — совокупность опти­ческих узлов и деталей (линзы, призмы, зеркала, объ­ективы, окуляр и т. д.), преобразует малые повороты зеркала в удобные для отсчета перемещения светового потока с изображением указателя по шкале при­бора.

По положению линии измерения оптиметры делят на вертикальные (0В) и горизонтальные (ОГ), а по способу отсчета показаний—на окулярные (ОВО, ОГО) и экранные (ОВЭ, ОГЭ).

Основные характеристики оптиметров по ГОСТ 5405—75


Типы прибора


Показатели



ОВО-1,


ОГО-1,



ОВЭ-02


ОВЭ-1


ОГЭ-1


Диапазон измерения, мм


0—100


0—200


0—500


Цена деления, мкм


0,2


1,0


1,0


Пределы измерения по шкале, мм


±0,025


±0,1


±0,1


Допускаемая основная погреш­ность





ность, мкм, на участке шкалы, ми:





от 0 до ±0,015


±0,07




свыше ±0,015


±0,1



.—


от 0 до ±0,06



±0,2


• ±0,2


свыше ±0,06



±0,3


±0,3


Вариация показаний, мкм


Ј(,02


0,1


0,1



5) Линейки поверочные изготовляются следующих типов: ЛД — лекальные с двухсторонним скосом (рис. 7, а); ЛТ—лекальные трехгранные (рис. 7,6); ЛЧ—лекальные четырехгранные (рис. 7, в); ШП — с широкой рабочей поверхностью прямоугольного сечения (рис. 7, г); ШД—с широ­кой рабочей поверхностью двухтаврового сечения (рис. 7,и); ШМ—с широкой рабочей поверхно­стью, мостики (рис. 7, е); УТ—угловые трехгран­ные (рис. 7, ж).

Лекальные линейки выпускаются двух классов точ­ности: 0 и 1. Лекальные линейки предназначены для контроля прямолинейности. Лезвие ли­нейки накладывают на поверхность изделия .Сзади, на уровне глаз контролера, по­мещают источник света и наблюдают просвет между линейкой и изделием. Размер просвета определяют по «образцу просвета» При хорошей освещенности и определен­ном навыке просвет размером 3—5 мкм можно оце­нить с погрешностью ±1 мкм. Непрямолинейность равна наибольшему просвету hmax.. (рис.8,а) .Линейки с широкой рабочей поверхностью приме­няют для поверки прямолинейности и для поверки плоскостности узких поверхностей Размеры l X Ь линеек различных типов имеют следующие зна­чения: для линеек типа ШП 205Х5—630Х10 мм;

линеек типа ШД 630Х4—4000 X 30 мм; линеек типа ШМ 400 X 50 — 3000 X 110 мм. Линейки выпускаются трех классов точности: 0, 1 и 2. При контроле прямолинейности методом «линейных отклонений» рис.8, б линейку 1 укладывают рабочей поверхностью на две одинаковые концевые меры 3 размером b0, установленные на проверяемой поверхности 2. Для уменьшения погрешностей изме­рений из-за прогибов линейки опоры располагают в точках наименьшего прогиба (точки Эри), которые отмечены рисками на боковой поверхности линеек, Точки Эри лежат на расстоянии 0,233l от концов линейки. На боковой поверхности линейки наносят мелом отметки на расстояниях, равных 0,1l. В отмечен­ных точках 0, 1, 2, ..., 10 измеряют расстояние Ьi, между поверхностями линейки и изделия, вводя ме­жду ними блоки концевых мер или щупы 4. По ре­зультатам измерений, определяют разность hi=(bо bi). Построив график, как показано на рис. 8, в через точки h0 и hi проводят прямую ли­нию ОА. Отклонение от плоскостности поверхности hmax находят как расстояние от линии ОА до наиболее удаленной точки профиля.

Решения об отнесении технического устройства к средствам измерений и об становлении интервалов между поверками принимает Госстандарт России.
Измерения должны осуществляться в соответствии с аттестованными в установленном порядке методиками.
Порядок разработки и аттестации методик выполнения измерений определяется Госстандартом России. Конкретные методы измерений определяются видом измеряемых величин, их размерами, требуемой точностью результата, быстротой процесса измерения, условиями, при которых проводятся измерения, и рядом других признаков.

Каждую физическую величину можно измерить несколькими методами, которые могут отличаться друг от друга особенностями как технического, так и методического характера. В отношении технических особенностей можно сказать, что существует множество методов измерения, и по мере развития науки и техники, число их все увеличивается. С методической стороны все методы измерений поддаются систематизации и обобщению по общим характерным признакам. Рассмотрение и изучение этих признаков помогает не только правильному выбору метода и его сопоставлению с другими, но и существенно облегчает разработку новых методов измерения.

Для прямых измерений можно выделить несколько основных методов: метод непосредственной оценки, дифференциальный метод, нулевой метод и метод совпадений.

При косвенных измерениях широко применяется преобразование измеряемой величины в процессе измерений.





Рис. 3. Индикатор часовой типа ИЧ



Рис. 4 Индикатор торцовый типа ИТ-2



Рис. 5. Стойки и штативы

а—г-сгойки типа C-I; C-Ii; C-III; C-IV; д— е— штативы типа Ш-1, lll-tf;

1— основание, 2— предметный стол для установки изделия; 3— колонка;

4—кронштейн; 5—винт крепления измерительной головки; 6—маховик перемещения кронштейна (кремальера), 7—винт зажима кронштейна;

5— гайка; 9— стержень; /О—хомут; //—зажимной винт; 12— державка;

—винт крепления державки; 14—пружинное кольцо; 15—винт микро­подачи для точной установки измерительной головки на размер



Р
ис. 7. Линейки проверочные


,


Рис. 8. Методы контроля

прямолинейности /


План

1.Средства измерений

2.Штанкгнциркуль

3.Микромктр

4.Индикаторы часовые

5.Оптико-механические приборы

6.Линейки поверочные

7.Приложения


Использованная литература


1.Васильев А.С. «Основы метрологии и технические измерения» 1980 г.

2.Закон «Об обеспечении единства измерений» от 28.04.2001 г.

3.Махоня И.Т. «Справочник инструментальщика по техническим измере

ниям» 1984 г.


Рис.1 Микрометрические головки


Рис.2 Микрометр


Рис.6 Приспособлнния к индикаторам



рефераты скачать
НОВОСТИ рефераты скачать
рефераты скачать
ВХОД рефераты скачать
Логин:
Пароль:
регистрация
забыли пароль?

рефераты скачать    
рефераты скачать
ТЕГИ рефераты скачать

Рефераты бесплатно, реферат бесплатно, рефераты на тему, сочинения, курсовые работы, реферат, доклады, рефераты, рефераты скачать, курсовые, дипломы, научные работы и многое другое.


Copyright © 2012 г.
При использовании материалов - ссылка на сайт обязательна.